EasyManua.ls Logo

Oval NPI45B20 - MICROSWITCH, POTENTIOMETER, AND FRICTION CLUTCH ARRANGEMENTS; Direct reading and Microswitch Equipped Model; Potentiometer Equipped Model

Default Icon
26 pages
Print Icon
To Next Page IconTo Next Page
To Next Page IconTo Next Page
To Previous Page IconTo Previous Page
To Previous Page IconTo Previous Page
Loading...
NOTE: The direct-reading type is provided
neither with microswitches nor cam
unit.
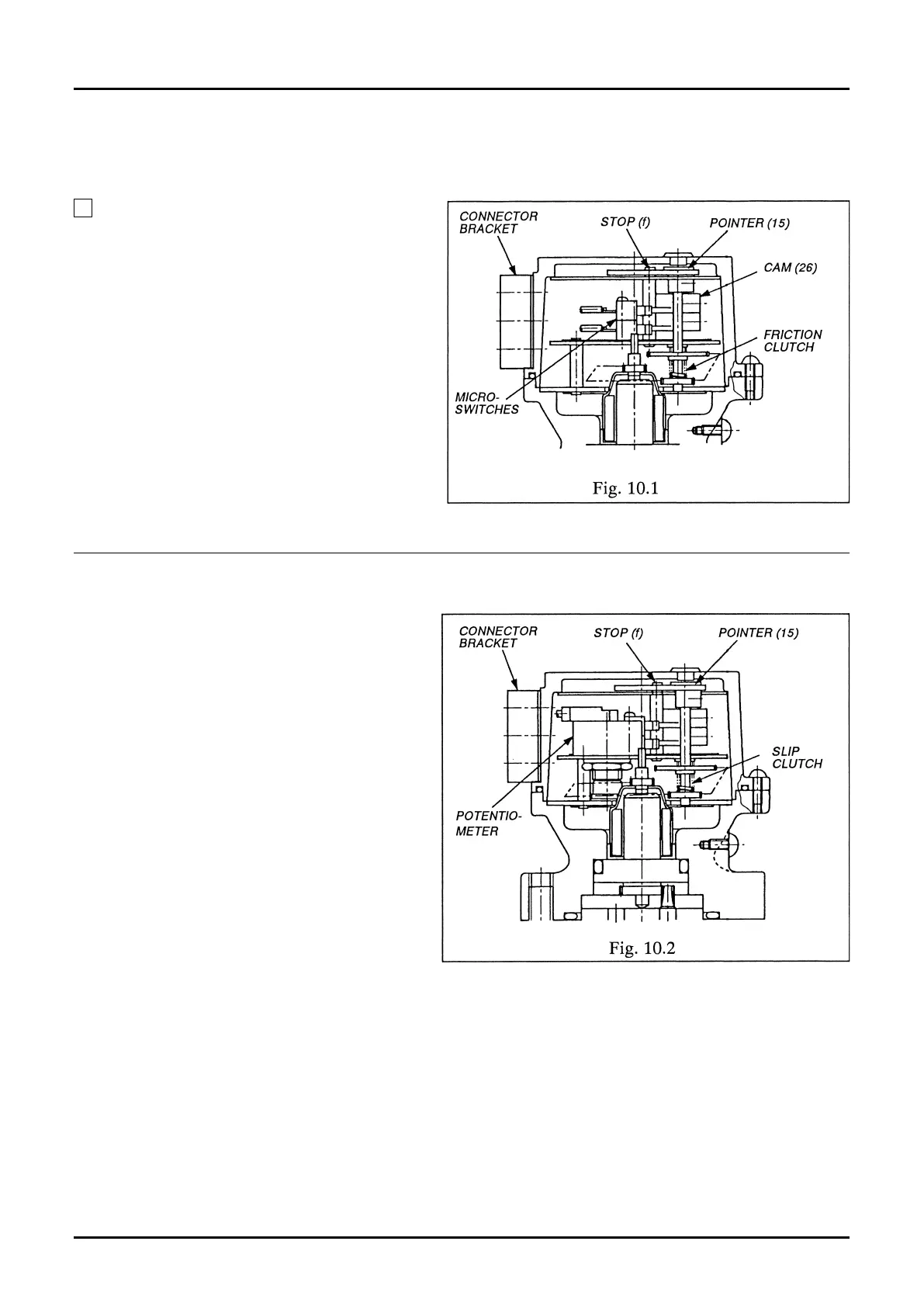
The friction clutch automatically corrects valve’s
full open and full shut position on the indicator
scale.
The pointer (15) comes into contact with
stopper (f) at 97 % of valve actuator capacity; it
keeps slipping by a friction clutch arrangement
for the remaining 3 % although the Oval rotors
remain rotating; at the next start, the pointer
position is automatically corrected to the valve
position.
 
 
The friction clutch automatically corrects valve’s
full open and full shut position on the indicator
scale.
The pointer (15) comes into contact with the
stopper (f) at 97 % of valve actuator capacity; it
keeps slipping by a friction clutch arrangement
for the remaining 3 % although the Oval rotors
remain rotating; at the next starting, the pointer
position is automatically corrected to the valve
position.
 

Related product manuals