EasyManua.ls Logo

Oval NPI45B20 - CONFIGURATION AND OPERATING PRINCIPLE; Configuration; Operating Principle

Default Icon
26 pages
Print Icon
To Next Page IconTo Next Page
To Next Page IconTo Next Page
To Previous Page IconTo Previous Page
To Previous Page IconTo Previous Page
Loading...
 
 
 
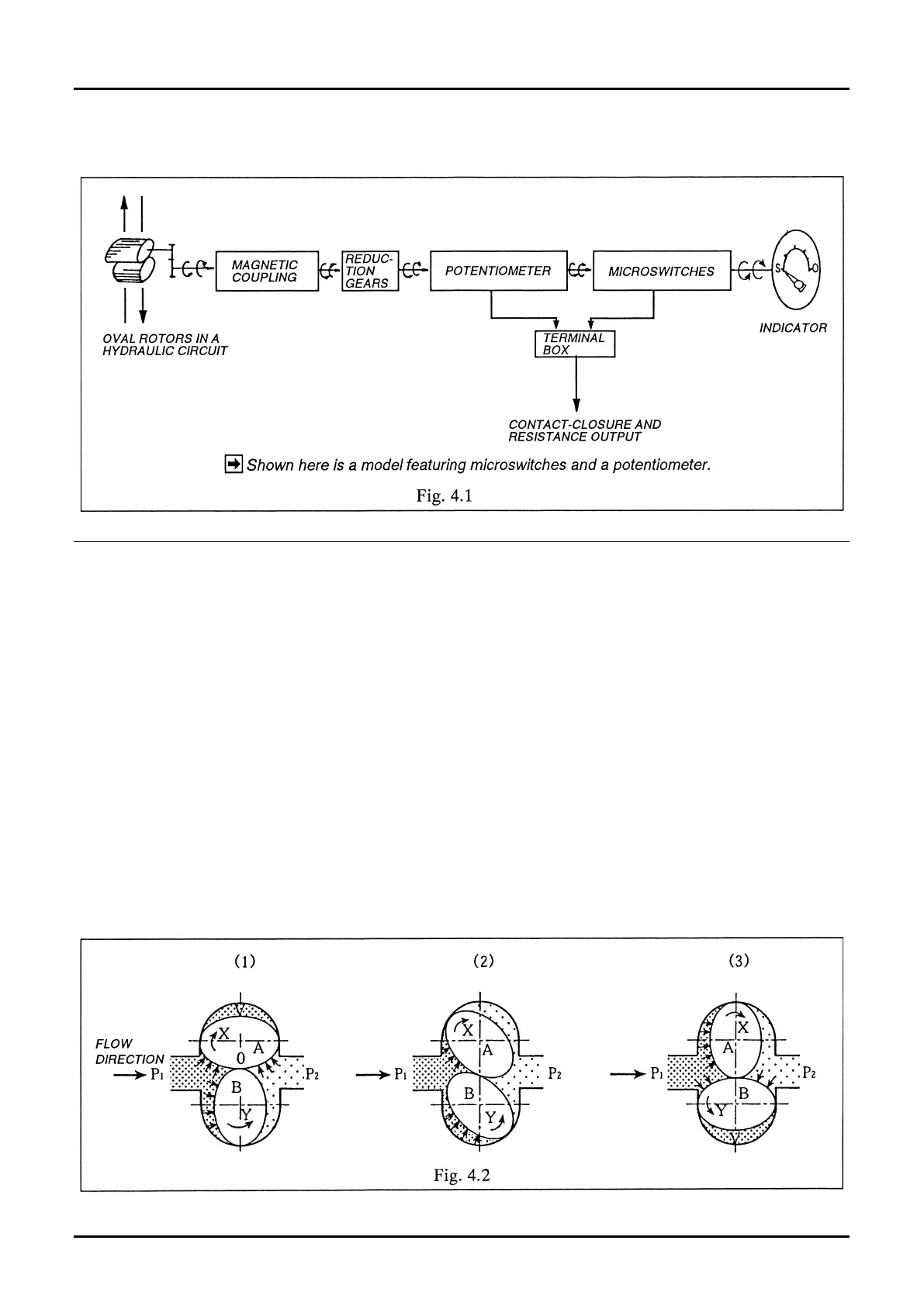
(1) Two Oval rotors are used in the wetted measuring chamber in contact with the fluid as shown in the
diagram below. Assume that the inlet pressure is P
1
and the outlet pressure P
2
. Pressure P
1
is uniformly
distributed over the entire teeth on its side P
1
; no torque acts on rotor B. Regarding rotor A, on the other
hand, pressures P
1
and P
2
act on its inlet tooth area (area “a”) and its outlet area (area “a”), respectively,
separated at a parting point “0at which the two rotors mesh. Since their pressure relationship is P
1
>P
2
,
the resulting rotational di󱐯erential force represented by a・P
1
>a・P
2
acts on rotor A, forcing it to turn in the
arrow direction “X.” At a 90° displaced position, then, rotors A and B alternate places with each other; rotor
B is forced to turn in the arrow direction “Y.” This motion continues without coming across a dead point as
long as the process ow is maintained.
(2) Liquid is precisely quantied by a crescent-shaped cavity (V) formed by the chamber wall and Oval rotors.
The amount (q) of uid carried in every rotation of the Oval rotor is four times the crescent-shaped pocket
“V.”
(3) This turning e󱐯ort of Oval rotors is transmitted to the indicator through a magnetic coupling, reduction
gear train, and potentiometer/microswitch arrangement. The volume of uid passing across the measuring
chamber is determined in this way, allowing the valve position to be displayed on the indicator.

Related product manuals