EasyManua.ls Logo

Packard Bell EasyNote TK13BZ - Touchpad Failure

Packard Bell EasyNote TK13BZ
216 pages
Print Icon
To Next Page IconTo Next Page
To Next Page IconTo Next Page
To Previous Page IconTo Previous Page
To Previous Page IconTo Previous Page
Loading...
Troubleshooting 4-9
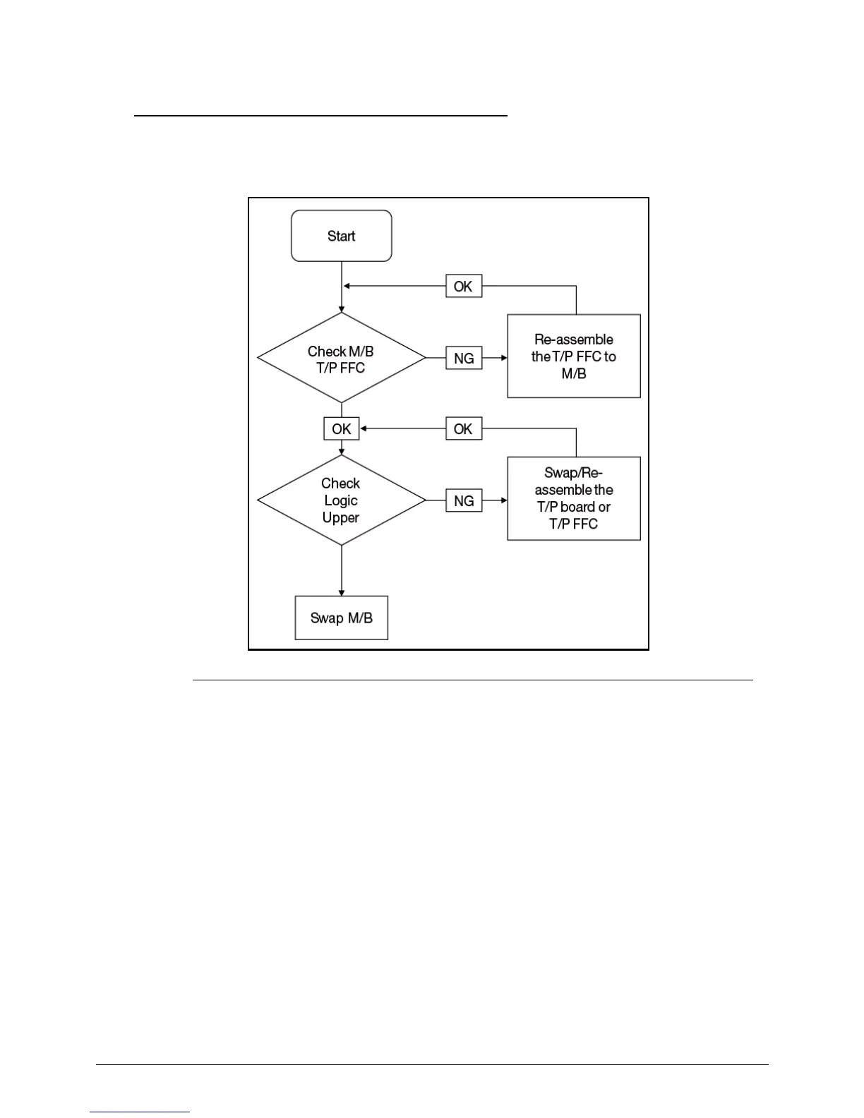
Touchpad Failure 0
If the Touchpad fails, perform the following:
Figure 4-5. Touchpad Failure

Table of Contents

Related product manuals