EasyManua.ls Logo

Packard Bell EasyNote TK13BZ - Thermal Module Failure

Packard Bell EasyNote TK13BZ
216 pages
Print Icon
To Next Page IconTo Next Page
To Next Page IconTo Next Page
To Previous Page IconTo Previous Page
To Previous Page IconTo Previous Page
Loading...
Troubleshooting 4-17
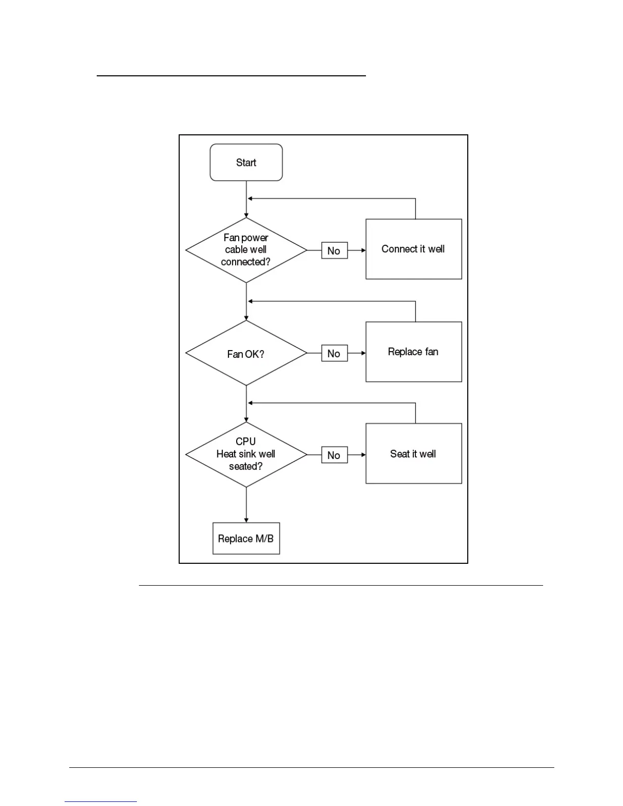
Thermal Module Failure 0
If the thermal module fails, perform the following:
Figure 4-12. Thermal Module Failure

Table of Contents

Related product manuals