EasyManua.ls Logo

Panasonic C5303U - Reproductor de CD; Reproducción Aleatoria

Panasonic C5303U
108 pages
Print Icon
To Next Page IconTo Next Page
To Next Page IconTo Next Page
To Previous Page IconTo Previous Page
To Previous Page IconTo Previous Page
Loading...
87
14
E
S
P
A
Ñ
O
L
CQ-C5403U/C5303U
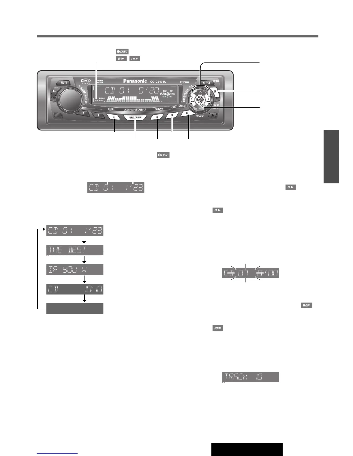
Cuando hay un disco CD en el reproductor
Presione [SRC/PWR] para seleccionar el modo de repro-
ductor de CD y se iniciará la reproducción.
Cambio de visualización
Presione [D] (DISP).
Pista/Tiempo de reproducción
Título del disco
Título de la pista
La hora
Visualización apagada
Nota:
¡ Cuando no hay información en el disco, se visualiza
“NO TEXT”.
¡ Presione [3] (SCROLL) para desplazar otro ciclo
cuando se visualiza un título. Si el número de caracteres
visualizados es de 8 o menos, los caracteres no se
desplazarán.
Selección de canciones
[d]: Canción siguiente
[s]: Principio de la canción actual
Canción anterior. (Presiónelo dos veces.)
Avance rápido/inversión rápida
Presione y mantenga presionado.
[d] (f): Avance rápido
[s] (a): Inversión rápida
Suéltelo para reanudar la reproducción.
Pausa (y / 5)
Presione [BAND] (y / 5).
Presione [BAND] (y / 5) otra vez cancelarlo.
Reproducción aleatoria
Todas las pistas disponibles se reproducen en secuencia aleatoria.
Presione [4] (RANDOM).
Se enciende .
Presione
[4] (RANDOM) otra vez cancelarlo.
Reproducción por exploración
Se reproducen en secuencia los primeros 10 segundos de
cada canción.
Presione [5] (SCAN).
Presione [5] (SCAN) otra vez cancelarlo.
Repetición de la reproducción
Se repite la canción actual.
Presione [6] (REPEAT).
Se enciende .
Presione
[6] (REPEAT) otra vez cancelarlo.
Selección directa de pistas
(Sólo para el control remoto)
Ejemplo: Número de pista 10
q Presione [#].
w Presione [1] [0].
e Presione [BAND] (SET).
Nota:
¡ Para suspender la selección directa, presione [DISP].
¡
La reproducción aleatoria, repetición de la reproducción y la repro-
ducción por exploración se cancelarán cuando se presione [#]
.
Reproductor de CD
[BAND] (y / 5:
Pausa/reproducción)
[D] (DISP) (Visualización)
[SRC/PWR] (Fuente)
[s] / [d] (a / f)
(Selección de canciones/
Avance rápido/inversión
rápida)
[3] (SCROLL)
[4] (RANDOM)
[5] (SCAN)
[6] (REPEAT)
Pista Tiempo de reproducción
Indicador

Table of Contents

Related product manuals