EasyManua.ls Logo

Panasonic CS-E10HB4EA - 7 Block Diagram; Cs-E15 Hb4 Ea Cu-E15 Hbea Cs- E18 Hb4 Ea Cu-E18 Hbeacs-E21 Hb4 Eas Cu-E21 Hbea

Panasonic CS-E10HB4EA
88 pages
Print Icon
To Next Page IconTo Next Page
To Next Page IconTo Next Page
To Previous Page IconTo Previous Page
To Previous Page IconTo Previous Page
Loading...
19
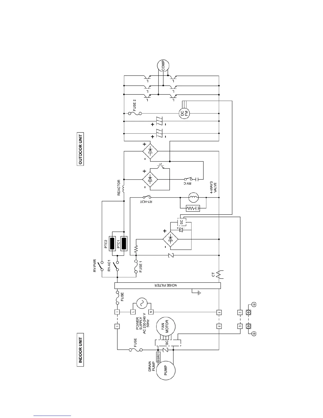
7 Block Diagram
7.1. CS-E15HB4EA CU-E15HBEA CS-E18HB4EA CU-E18HBEA
CS-E21HB4EAS CU-E21HBEA

Table of Contents

Other manuals for Panasonic CS-E10HB4EA

Related product manuals