EasyManua.ls Logo

Panasonic CS-E18HKEW - E-Ion Operation

Panasonic CS-E18HKEW
70 pages
Print Icon
To Next Page IconTo Next Page
To Next Page IconTo Next Page
To Previous Page IconTo Previous Page
To Previous Page IconTo Previous Page
Loading...
44
g. Timer Control
• When ON timer activates when unit stops, previous operation resumes without Patrol operation.
• When ON timer activates during any operation, no change and carry on current operation.
• When OFF timer activates during any operation, all operation stops.
h. Power failure
• During Patrol individual operation, if power failure occurs, after power resumes, Patrol individual operation resumes
immediately.
• During combination operation, if power failure occurs, after power resumes combination operation resume immediately.
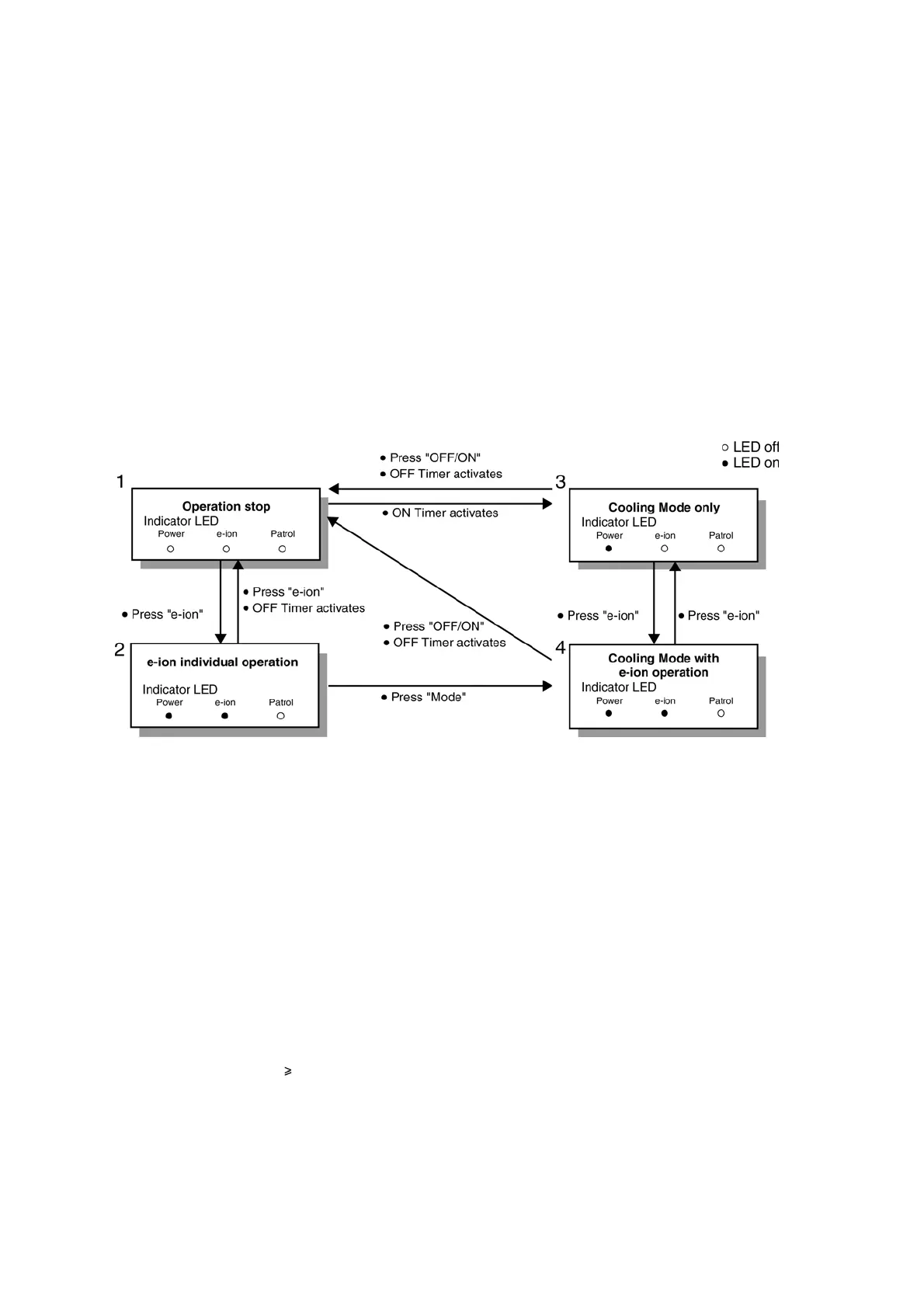
12.10. e-ion Operation
A. Purpose
This operation provides clean air by producing negative ions to attract dust captured at the positively charged e-ion filters.
B. Control Condition
a. e-ion operation start condition
• During unit running at any operation mode, if “e-ion” button is pressed, combination operation (operation mode + e-ion
operation) starts.
• During unit is OFF, if “e-ion” button is pressed, e-ion individual operation starts.
b. e-ion operation stop condition
• When “OFF/ON” button is pressed to stop the operation.
• When “e-ion” button is pressed again.
• When “Patrol” button is pressed.
• When OFF Timer activates.
c. e-ion operation pause condition
• When indoor fan stop (during deice, odor cut control, thermostat off, etc.). e-ion operation resume after indoor fan restarts.
• When indoor intake temperature 40qC. e-ion operation resume after indoor intake temperature < 40qC continuously for 30
minutes.
f. Remote Control Receiving Sound
• Normal Operation
• Patrol Mode
• Patrol Mode
• Stop
o
o
o
o
Patrol Mode
Stop
Normal Operation
Patrol
:
:
:
:
Beep
Long Beep
Beep
Beep

Table of Contents

Related product manuals