EasyManua.ls Logo

Panasonic CS-E7PKEW - Page 94

Panasonic CS-E7PKEW
208 pages
Print Icon
To Next Page IconTo Next Page
To Next Page IconTo Next Page
To Previous Page IconTo Previous Page
To Previous Page IconTo Previous Page
Loading...
94
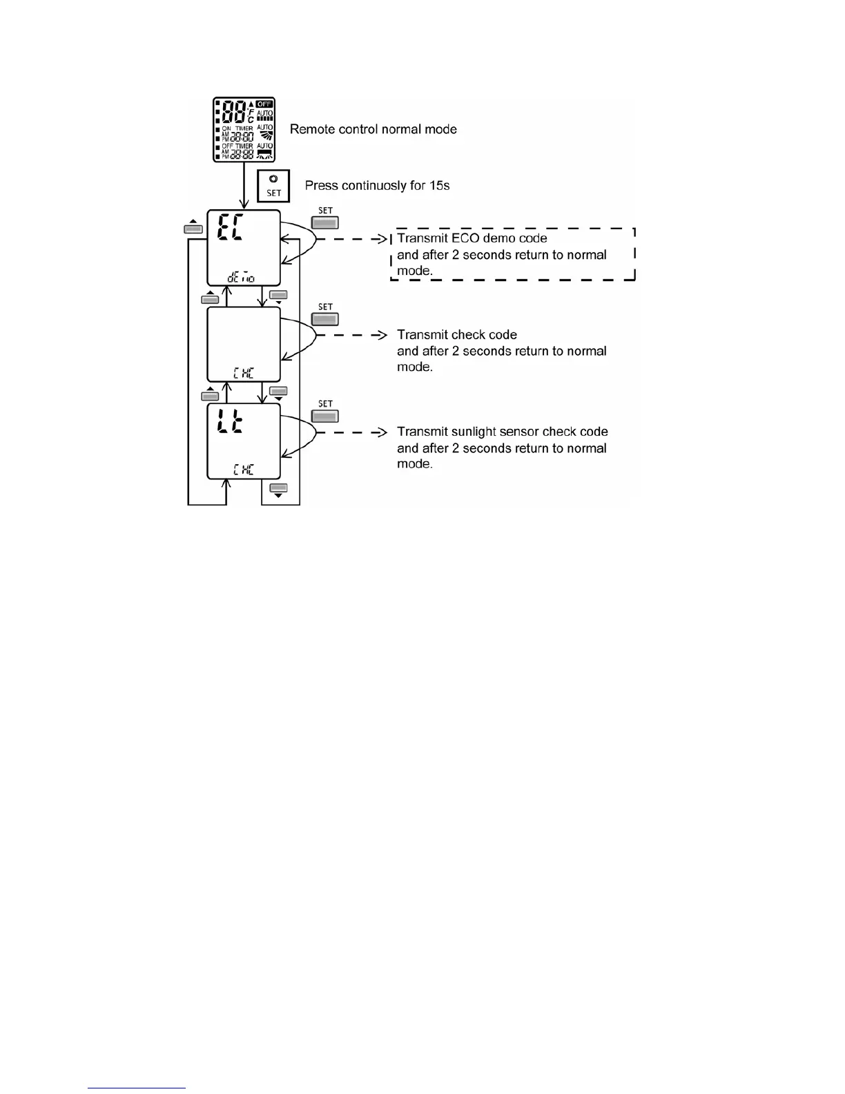
13.14.1.10 ECONAVI and AUTO COMFORT Demo Mode
To enable ECO DEMO mode:
To disable ECO Demo MODE:
o Transmit ECO Demo signal again.
13.14.1.11 Human Activity Sensor Abnormality
Abnormality detection:
Connector disconnection / Wire cut abnormality
o Sensor judge Hi level continuously for 25 seconds
Circuit abnormality
o 70 seconds after power ON, if human activity sensor judge Lo level continuously for 25 seconds
Error Code judgment
When abnormality happened, internal counter increase by 1 time.
Human activity sensor power OFF, retry after 5 seconds.
When the human activity sensor maintains normal condition for 120 seconds, the counter reset or AC reset.
When abnormality counter reached 4 times, H59 occurred – No TIMER indicator blinking.
When error code happened, the unit is able to operate without AUTO COMFORT / ECONAVI.

Table of Contents

Related product manuals