EasyManua.ls Logo

Panasonic CS-E7PKEW - Page 95

Panasonic CS-E7PKEW
208 pages
Print Icon
To Next Page IconTo Next Page
To Next Page IconTo Next Page
To Previous Page IconTo Previous Page
To Previous Page IconTo Previous Page
Loading...
95
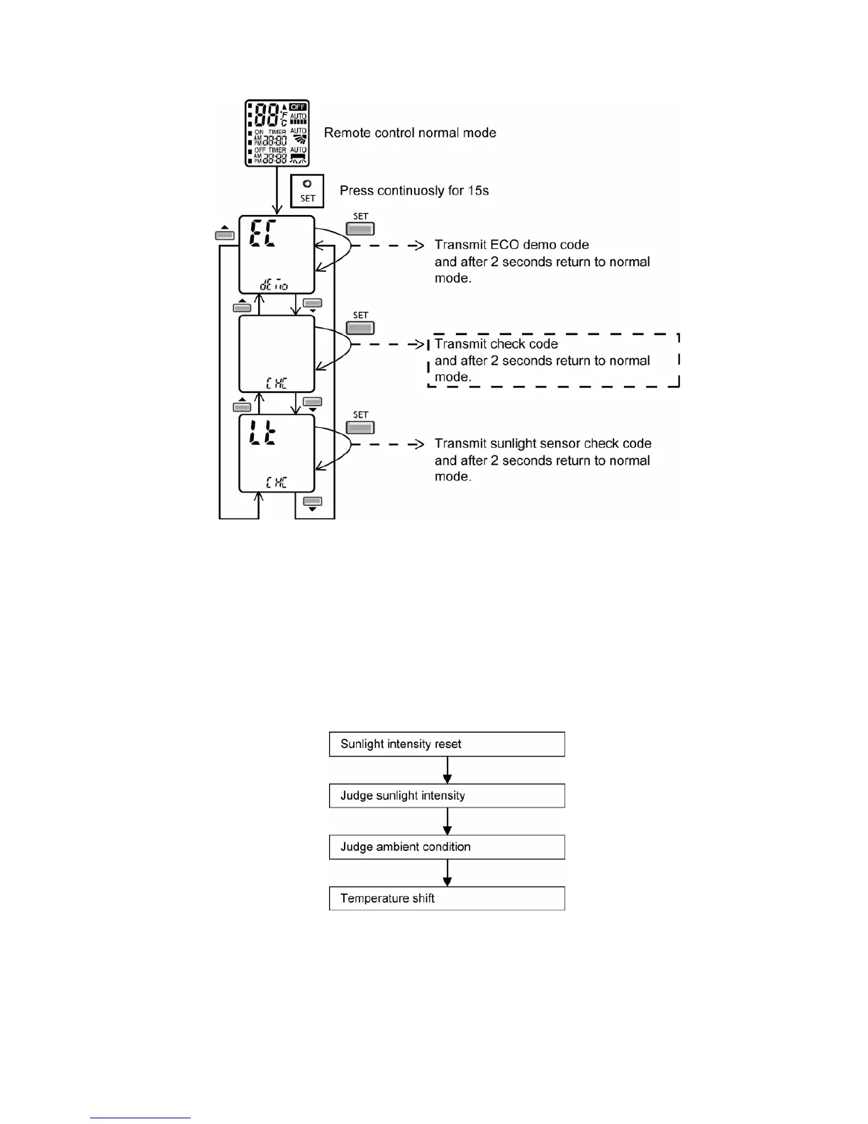
13.14.1.12 Human Activity Sensor Check Mode
To enable human activity sensor abnormality check mode:
During ECONAVI is ON, when CHECK signal received, if either sensors has abnormality, the 4 times abnormality
counter is ignored, ECONAVI Indicator will blink immediately and error code is memorized.
The unit could operate without ECONAVI or AUTO COMFORT.
The ECONAVI indicator blinking could be cancelled by pressing ECONAVI button again.
If the human activity sensor has no abnormality, the CHECK process will end and continue with normal operation.
13.14.2 Sunlight Sensor
During ECONAVI operation, the sunlight sensor detects sunlight intensity coming through windows and
differentiates between sunny and cloudy or night to further optimize energy saving by adjusting the temperature.
Sunlight judgment is as following
13.14.2.1 Sunlight Intensity Reset
The sunlight intensity will to reset to zero (no sunlight condition) when
o Each time ECONAVI is activated.
o Setting temperature is changed.
o Operation mode is changed.

Table of Contents

Related product manuals