EasyManua.ls Logo

Panasonic CS-TZ25ZKEW

Panasonic CS-TZ25ZKEW
235 pages
To Next Page IconTo Next Page
To Next Page IconTo Next Page
To Previous Page IconTo Previous Page
To Previous Page IconTo Previous Page
Loading...
35
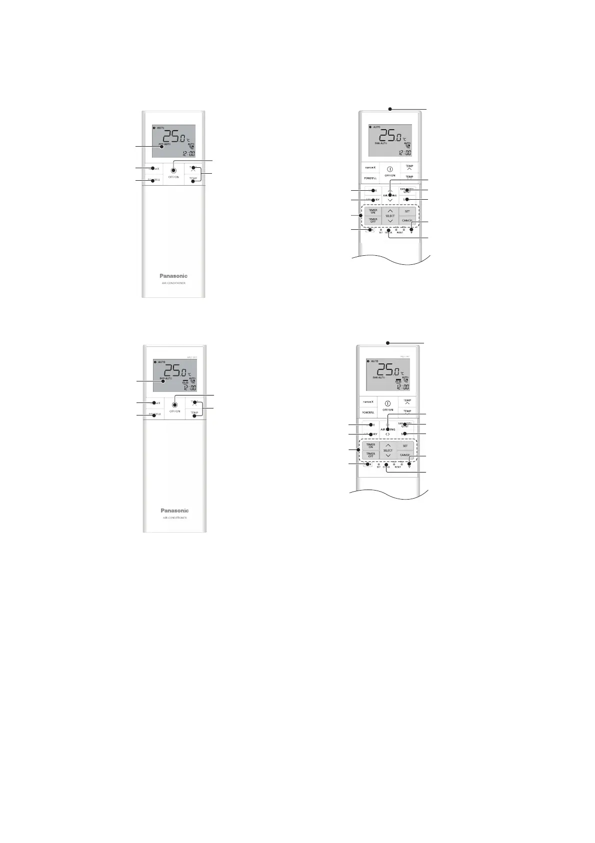
5.3 Remote Control
5.3.1 CS-TZ20ZKEW CS-TZ25ZKEW CS-TZ35ZKEW CS-TZ42ZKEW CS-TZ50ZKEW
CS-RZ25ZKEW CS-RZ35ZKEW CS-RZ50ZKEW
5.3.2 CS-TZ60ZKEW CS-TZ71ZKEW
Transmitter
Wireless LAN ON/OFF
Check
Fan speed selection/Quiet operation
Sleep operation
Clock setting
Operation mode
Timer setting
Mild dry operation
Temperature setting
Remote control
display
Powerful operation
nanoe™X operation
OFF/ON
Airflow direction adjustment
Temperature setting
Remote control
display
Powerful operation
nanoe™X operation
OFF/ON
Transmitter
Wireless LAN ON/OFF
Check
Fan speed selection/Quiet operation
Sleep operation
Clock setting
Operation mode
Timer setting
Mild dry operation
Airflow direction adjustment

Table of Contents

Other manuals for Panasonic CS-TZ25ZKEW

Related product manuals