EasyManua.ls Logo

Panasonic CS-Z20VKEW

Panasonic CS-Z20VKEW
213 pages
To Next Page IconTo Next Page
To Next Page IconTo Next Page
To Previous Page IconTo Previous Page
To Previous Page IconTo Previous Page
Loading...
50
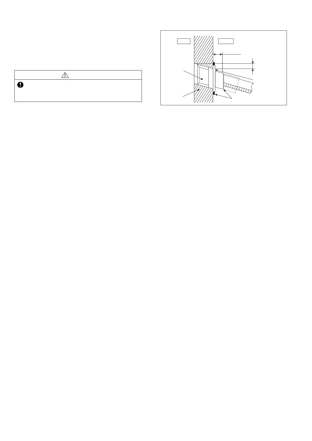
12.2.2 To Drill a Hole in the Wall and
Install a Sleeve of Piping
1 Insert the piping sleeve to the hole.
2 Fix the bushing to the sleeve.
3 Cut the sleeve until it extrudes about 15 mm
from the wall.
CAUTION
When the wall is hollow, please be sure to use
the sleeve for tube assembly to prevent dangers
caused by mice biting the connection cable.
4 Finish by sealing the sleeve with putty or
caulking compound at the final stage.
15 mm
Putty or caulking compound
ø70 mm
through hole
Indoor
Outdoor
Sleeve for tube
assembly
Approx. 5 - 7 mm
Bushing for
tube assembly
Wall

Table of Contents

Other manuals for Panasonic CS-Z20VKEW

Related product manuals