EasyManua.ls Logo

Panasonic FP-X0 L40MR - 7.3.4 IO Allocation; 7.3.5 Instructions used with High-speed Counter Function

Panasonic FP-X0 L40MR
290 pages
To Next Page IconTo Next Page
To Next Page IconTo Next Page
To Previous Page IconTo Previous Page
To Previous Page IconTo Previous Page
Loading...
6.5.3 Sending Data
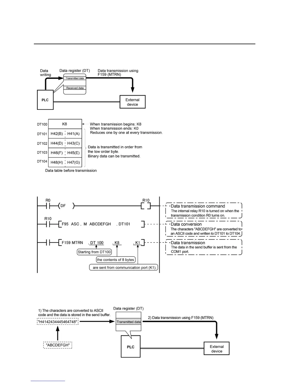
Communication with external devices is handled through the data registers.
Data to be output is stored in the data register used as the send buffer (DT), and when the F159 (MTRN)
instruction is executed, the data is output from the communication port.
Data table for transmission (send buffer)
Sample program for sending data
The following program transmits the characters ABCDEFGH (Hex)to an external device using the
communication port.
The program described above is executed in the following sequence.
1) ABCDEFGHis converted to an ASCII code and stored in a data register.
2) The data is sent from the communication port using the F159 (MTRN) instruction.
Explanatory diagram
Phone: 800.894.0412 - Fax: 888.723.4773 - Web: www.clrwtr.com - Email: info@clrwtr.com

Table of Contents

Related product manuals