EasyManua.ls Logo

Panasonic FP-X0 L40MR - Elapsed value write and read instruction (F1)

Panasonic FP-X0 L40MR
290 pages
To Next Page IconTo Next Page
To Next Page IconTo Next Page
To Previous Page IconTo Previous Page
To Previous Page IconTo Previous Page
Loading...
Data table
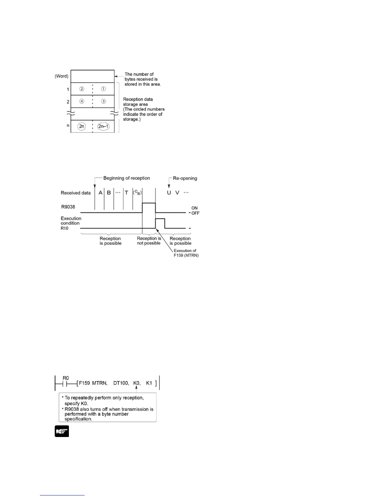
Data sent from an external device connected to the communication port is stored in the data registers
that have been set as the receive buffer.
- Data registers are used as the receive buffer. Specify
the data registers in system register 416 to 419.
- The number of bytes of data received is stored in the
starting address of the receive buffer. The initial value
is 0.
- Received data is stored in the received data storage
area in order from the lower -order byte.
Operation when receiving data
When the reception done flag R9038 is off, operation takes place as follows when data is sent from an
external device. (The R9038 flag is off during the first scan after RUN).
1. Incoming data is stored in order from the lower-order byte of the 2nd-word area of the receive buffer.
Header and terminator (start and end codes) are not stored.
2. When the terminator (end code) is received, the reception done flag R9038 turns on. Reception of
any further data is prohibited. When the terminator has been set to “None, the reception done flag
does not turn on. Check the number of received bytes to judge whether the reception has completed
or not.
3. When an F159 (MTRN) instruction is executed, the reception doneflag R9038 turns off (except the
case when the terminator has been set to None), the number of received bytes is cleared, and
subsequent data is stored in order from the lower-order byte.
For repeated reception of data, perform the following steps:
1. Receive data
2. Reception done (R9038: on, reception prohibited)
3. Process received data
4. Execute F159 (MTRN) (R9038: off, reception possible)
5. Receive subsequent data
Prepare for reception
- The reception doneflag R9038 turns on when data
reception from the external device is completed.
Reception of any further data is prohibited.
- To receive subsequent data, you must execute the F159
(MTRN) instruction to turn off the reception doneflag
R9038.
Note:
Be aware that the reception doneflag R9038 changes even while a scan is in progress (e.g., if the
reception done flag is used multiple times as an input condition, there is a possibility of different
statuses existing within the same scan.) To prevent multiple read access to the special internal relay you
should generate a copy of it at the beginning of the program.
Phone: 800.894.0412 - Fax: 888.723.4773 - Web: www.clrwtr.com - Email: info@clrwtr.com

Table of Contents

Related product manuals