EasyManua.ls Logo

Panasonic KX-FT931LA-B

Panasonic KX-FT931LA-B
173 pages
To Next Page IconTo Next Page
To Next Page IconTo Next Page
To Previous Page IconTo Previous Page
To Previous Page IconTo Previous Page
Loading...
106
KX-FT931LA-B
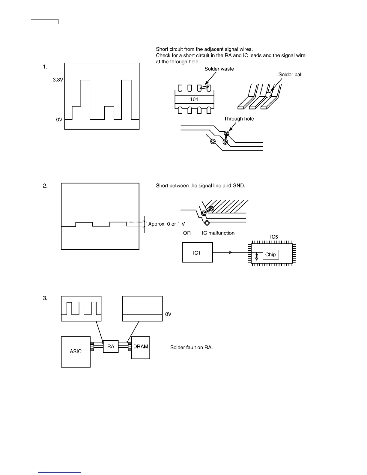
12.5.5.3. NG Example

Table of Contents

Related product manuals