EasyManua.ls Logo

Panasonic KX-TDA600BX - Battery Alarm Light Troubleshooting

Panasonic KX-TDA600BX
133 pages
Print Icon
To Next Page IconTo Next Page
To Next Page IconTo Next Page
To Previous Page IconTo Previous Page
To Previous Page IconTo Previous Page
Loading...
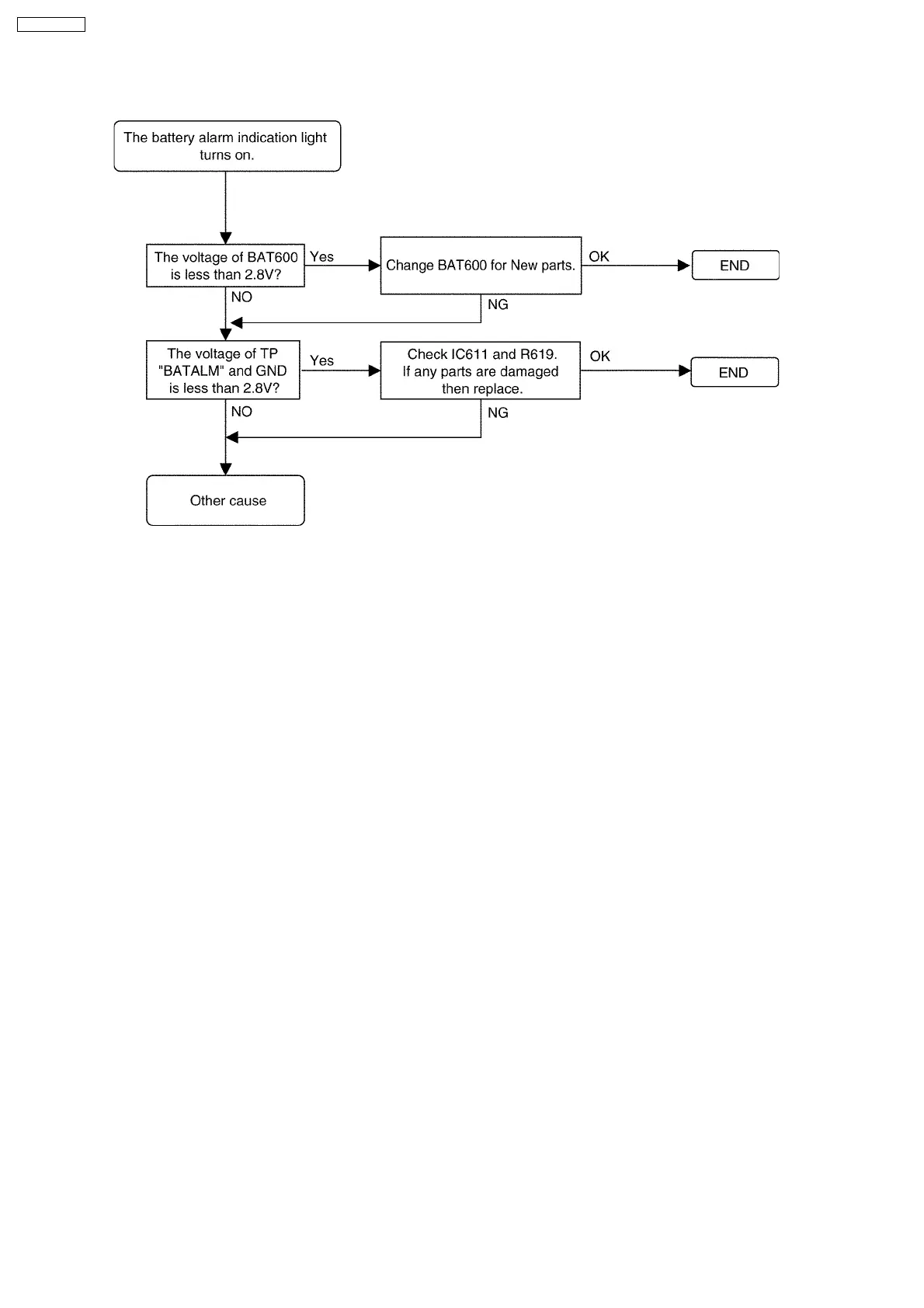
10.1.1.3. The battery alarm indication light turns on
44
KX-TDA600BX

Table of Contents

Related product manuals