EasyManua.ls Logo

Panasonic KX-W1500

Panasonic KX-W1500
116 pages
To Next Page IconTo Next Page
To Next Page IconTo Next Page
To Previous Page IconTo Previous Page
To Previous Page IconTo Previous Page
Loading...
NC
RST
TRACKOO
RES
RW/SEEK
WR
FLCS
AO
DO
DI
FLT/TRKO
D2
D3
D4
D5
D6
D7
SYNC
INT
DREQ
QUTO
OUT1
OUT2
OUT3
XT
MRDY
{RAI
26Hz
STBY
RES
XTAL
vss
DB6
DB7
DRQ
DACK
TC
INT
XB1
XB2
EXT
XA1
XA2
GND
GND
RDATA
WDATA
PCSO(SYNC)
PCS1(WINDOW)
FMT(MFM)
CLKOUT
INDEX
DR1(EM3)
DRO(EM2)
-
EM1
EMO
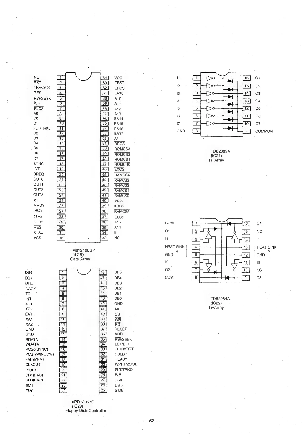
M612106SP
(IC19)
Gate
Array
uPD72067C
(IC23)
Floppy
Disk
Controller
cs
WR
RD
RESET
VDD
RW/SEEK
LCT/DIR
FLTR/STEP
HDLD
°
READY
WPRT/2SIDE
FLT/TRKO
WE
USO
us1
SIDE
S25
Oe
COM
O1
ia
HEAT
SINK
&
GND
12
02
COM
|
TD62003A
(IC21)
Tr-Array
TD62064A
(I1C22)
Tr-Array
or
02
03
o4
05
06
o7
COMMON
HEAT
SINK
GND
:
13
NC
03

Related product manuals