EasyManua.ls Logo

Panasonic TX-P50VT20E - Remove the Speakers; Remove the Woofer; Remove the Fan; Remove the SU-Board

Panasonic TX-P50VT20E
164 pages
Print Icon
To Next Page IconTo Next Page
To Next Page IconTo Next Page
To Previous Page IconTo Previous Page
To Previous Page IconTo Previous Page
Loading...
29
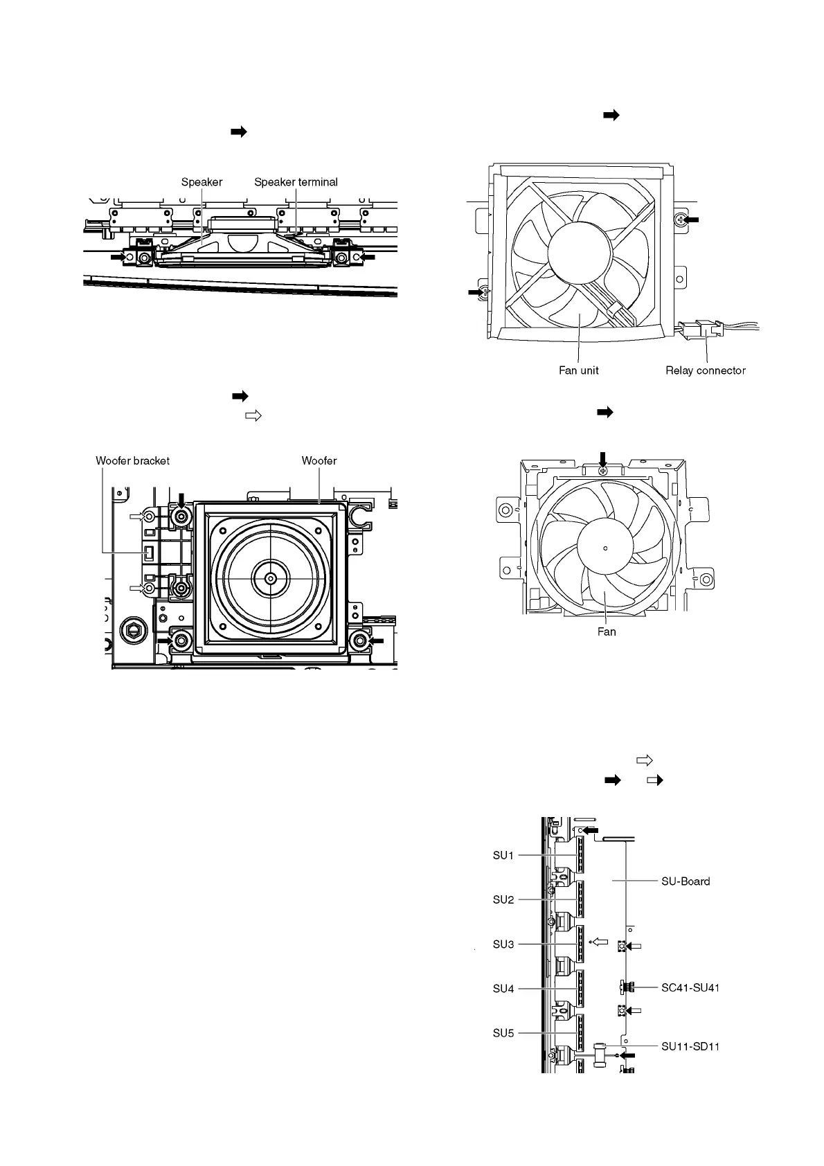
9.8. Remove the Speakers
1. Unlock the cable clampers to free the cable.
2. Disconnect the Speaker terminal.
3. Remove the screws (×2 each) and remove the Speak-
ers (L, R).
9.9. Remove the Woofer
1. Unlock the cable clampers to free the cable.
2. Disconnect the connector (A12). (See section 9.6.)
3. Remove the screws (×3 ) and remove the Woofer.
4. Remove the screws (×2 ) and remove the Woofer
bracket.
9.10. Remove the Fan
1. Unlock the cable clampers to free the cable.
2. Remove the screws (×2 ).
3. Remove the relay connectors and remove the Fan unit.
4. Remove the screw (×1 ) on the back side.
5. Remove the Fan.
9.11. Remove the SU-Board
1. Remove the flexible cables (SU1, SU2, SU3, SU4 and
SU5) connected to the SU-Board.
2. Remove the flexible cable (SU11-SD11) and the bridge
connector (SC41-SU41).
3. Remove the molding prop (×1 ).
4. Remove the screws (×2 , ×2 ) and remove the SU-
Board.

Table of Contents

Related product manuals