EasyManua.ls Logo

Panasonic WH-SXC09F9E8

Panasonic WH-SXC09F9E8
161 pages
To Next Page IconTo Next Page
To Next Page IconTo Next Page
To Previous Page IconTo Previous Page
To Previous Page IconTo Previous Page
Loading...
143
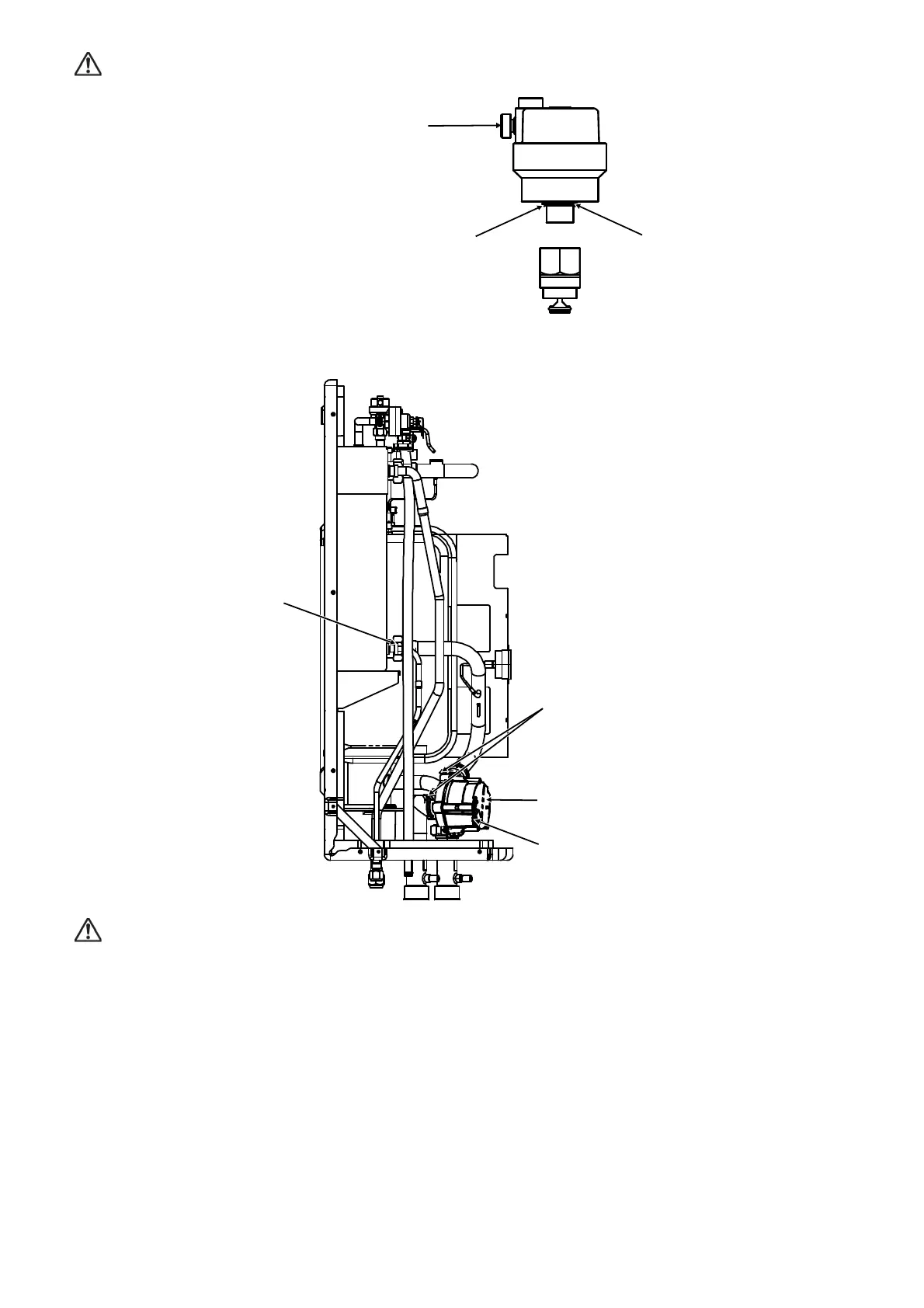
During reinstall Air Purge Valve.
Make sure plug is fully close
in clockwise direction.
Packing
Apply some water based
grease on packing surface
before fix with shut off valve.
17.8 To Remove Water Pump and Bottle Complete
Water Pump
3. Remove 2 retaining ring
then pull out the Water Pump.
1. Disconnect CN-PUMP2
2. Loosen the nut.
from Electronic Controller.
When reinstall the water pipe, use grease or water at the joining.

Table of Contents

Other manuals for Panasonic WH-SXC09F9E8

Related product manuals