EasyManua.ls Logo

Parker SLVD2N - Motor Connection Diagrams

Parker SLVD2N
181 pages
Print Icon
To Next Page IconTo Next Page
To Next Page IconTo Next Page
To Previous Page IconTo Previous Page
To Previous Page IconTo Previous Page
Loading...
Parker Hannifin S.p.A S.B.C. Division SLVDN User’s Manual
Page 34 of 181
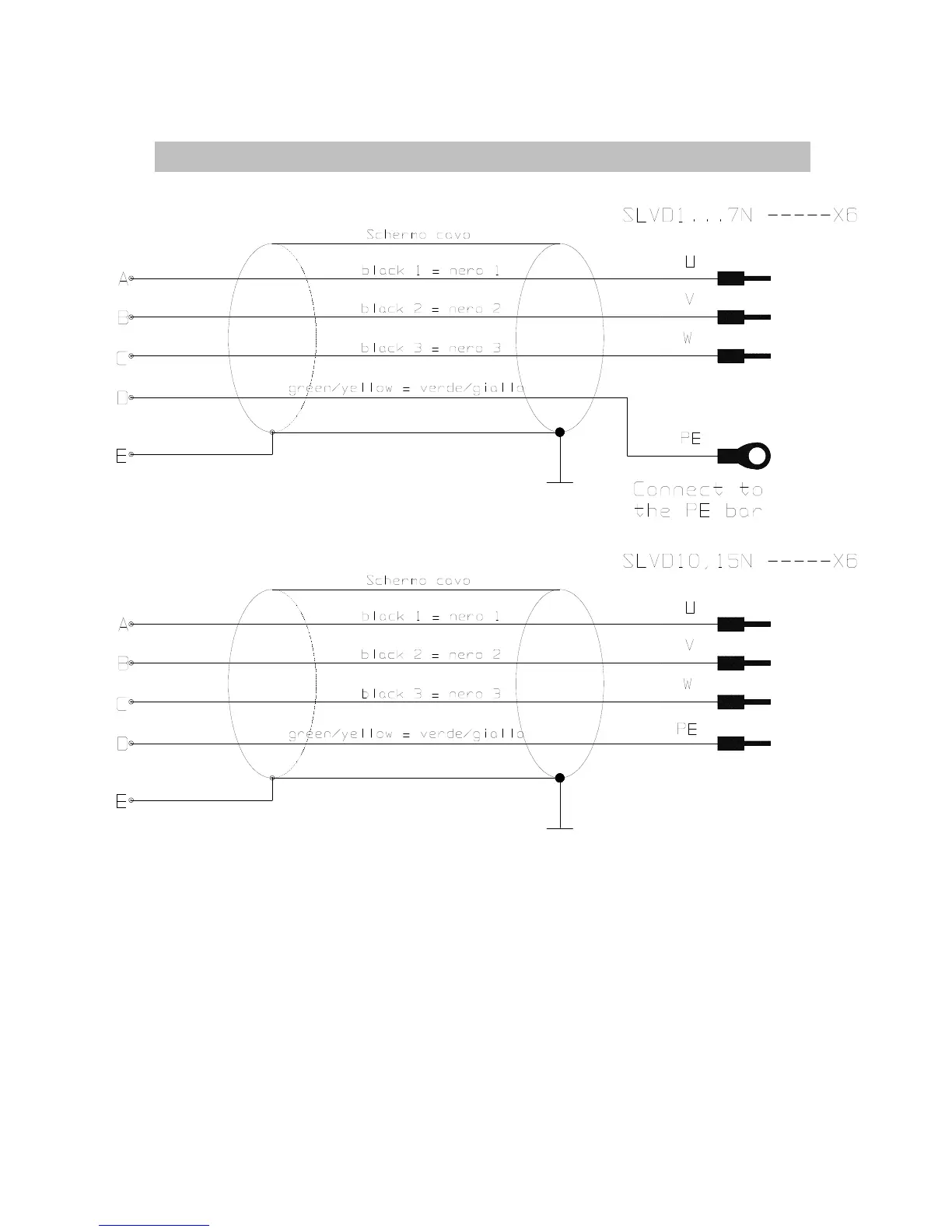
5.6. Motor connection diagrams

Table of Contents

Related product manuals