EasyManua.ls Logo

peerless-AV SA752PU - Gestion des Câbles

peerless-AV SA752PU
58 pages
Print Icon
To Next Page IconTo Next Page
To Next Page IconTo Next Page
To Previous Page IconTo Previous Page
To Previous Page IconTo Previous Page
Loading...
42 sur 58
PUBLIÉ LE : 10-30-09 FEUILLE n
o
: 095-9297-7 07-11-11
Français
Procédez comme suit pour augmenter ou diminuer la tension des points de pivotement du bras :
• Pour augmenter la tension, tournez la ou les vis de tension dans le sens horaire avec la clé hexagonale de
5mm (I). REMARQUE : Serrez les vis à un couple maximum de 5,6 Nm (50 po-lb).
• Pour diminuer la tension, tournez la ou les vis de tension dans le sens antihoraire avec la clé hexagonale de
5mm (I). REMARQUE : Ne tournez pas de plus d’un demi-tour.
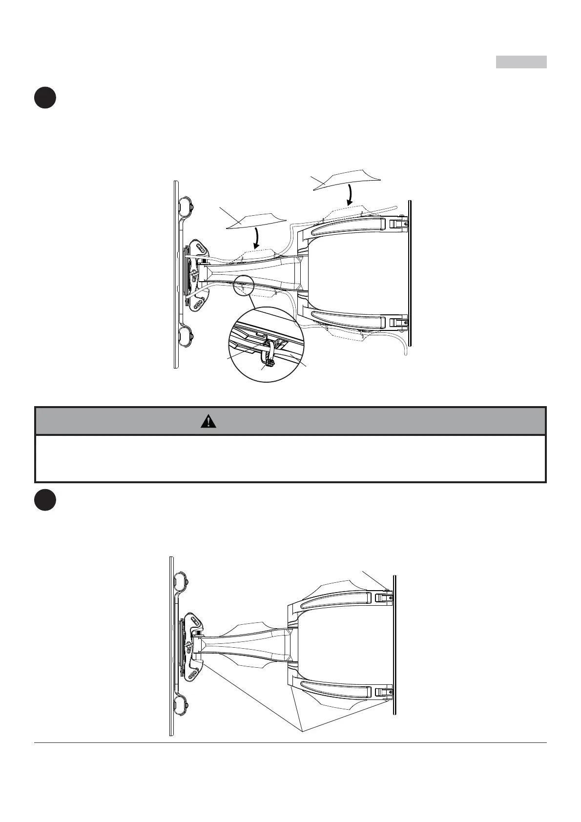
Gestion des câbles
Remarque : Veillez à ce que les câbles aient assez de jeu pour permettre au bras de bouger librement.
Acheminez le câble d'alimentation dans le haut ou le bas du bras (A) et le(s) câble(s) d'interconnexion dans l'autre
côté du bras afi n d'éviter de brouiller le signal. Faites tenir les câbles en place en pressant les cache-câbles (J et
K) sur le support. Il se peut que vous deviez déplacer l'écran pour faciliter l'accès.
Facultatif : Si une gestion des câbles additionnelle est nécessaire, acheminez les attaches de câble (G) dans les
fentes du bras (A) comme illustré dans le dessin de détail 2.
7
8
A
G
K
J
CÂBLE
FENTE
DÉTAIL 2
Ne pas retirer ni desserrer la vis avant qu’elle ne soit complètement dégagée du support. Cela risquerait de faire tomber l’écran.
Si les vis se desserrent au fi l du temps, resserrez-les au besoin. Serrez les vis à un couple maximal de 50 po-lb
(5,6 Nm).
AVERTISSEMENT
VIS DE TENSION
VIS DE TENSION
© 2011, Peerless Industries, Inc. Tous droits réservés.
Tous les autres noms de marques et de produits sont des marques de commerce ou déposées de leurs propriétaires respectifs.

Related product manuals