EasyManua.ls Logo

peerless-AV SA752PU - Cable Management; Securing Cables

peerless-AV SA752PU
58 pages
Print Icon
To Next Page IconTo Next Page
To Next Page IconTo Next Page
To Previous Page IconTo Previous Page
To Previous Page IconTo Previous Page
Loading...
14 of 58
ISSUED: 10-30-09 SHEET #: 095-9297-7 07-11-11
If more or less tension is desired in the arm pivot points, do the following:
• To increase tension, turn socket screw clockwise with 5mm allen wrench (I). NOTE: Tighten screws to
50 in • lbs (5.6 N.m.) maximum torque.
• To reduce tension, turn socket screw counter-clockwise with 5mm allen wrench (I). NOTE: Do not turn more
than half a turn.
© 2011, Peerless Industries, Inc. All rights reserved.
All other brand and product names are trademarks or registered trademarks of their respective owners.
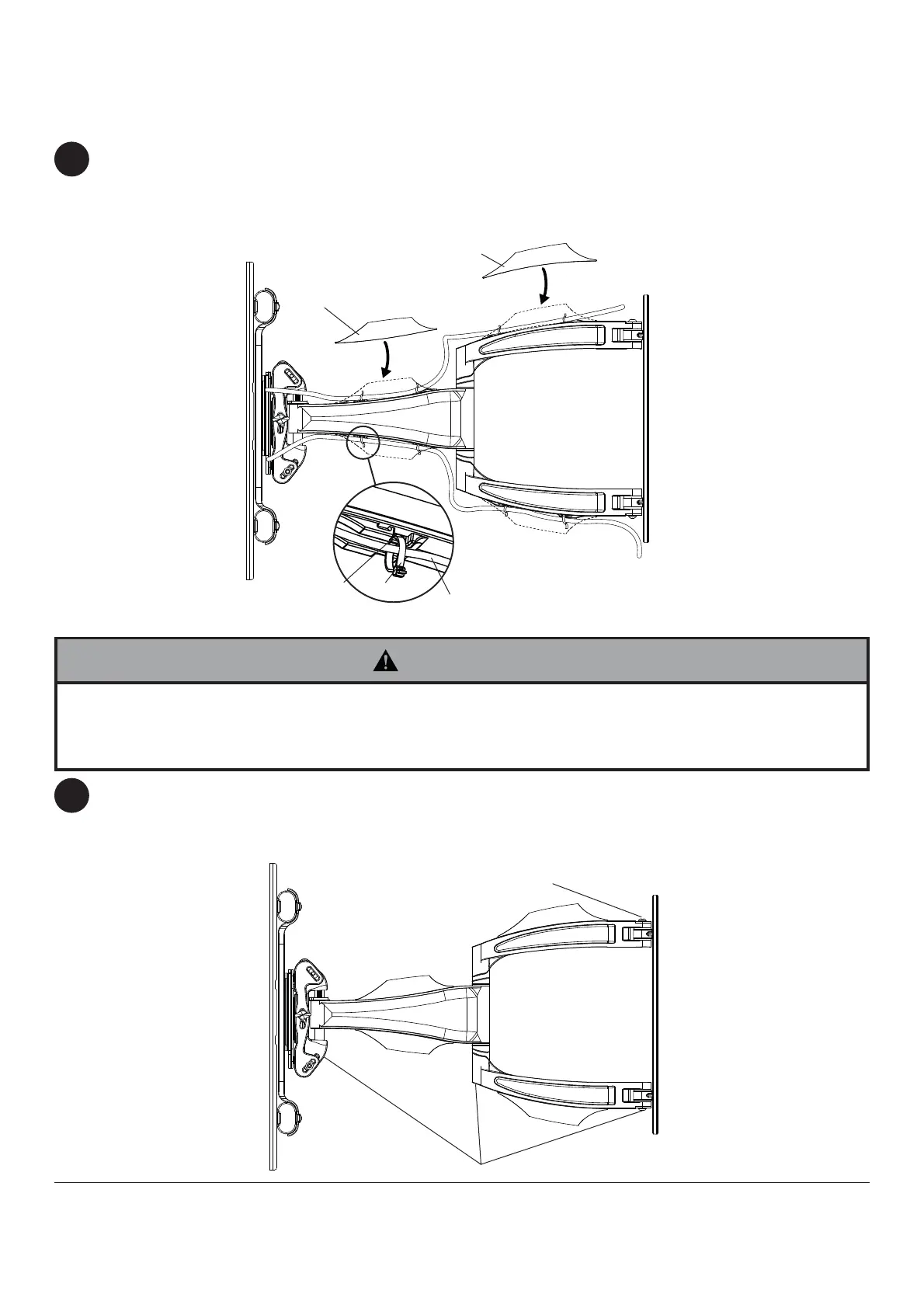
Cable Management
NOTE: Make sure cables have enough slack to allow full movement of the arm.
Run power cable through top or bottom of wall arm (A) and signal cable(s) through other side of arm in order to
avoid interference with the signal. Lock cables into place by snapping cable covers (J & K) onto mount. Display
may have to be moved for easy access.
Optional: If additional cable management is required route cable ties (G) through slots of wall arm (A) as shown in
detail 3.
7
8
A
G
K
J
CABLE
TENSIONS SCREWS
TENSIONS SCREW
DETAIL 3
SLOT
Do not remove screw or loosen screw until it is no longer engaged with the mount. Doing so may cause the display
to fall.
If screws become loose over time, tighten screws as necessary. Tighten screws to 50 in • lbs (5.6 N.m.) maximum
torque.
WARNING

Related product manuals