EasyManua.ls Logo

PeerlessBoilers Peerless PureFire PFC-460 - Page 14

PeerlessBoilers Peerless PureFire PFC-460
90 pages
Print Icon
To Next Page IconTo Next Page
To Next Page IconTo Next Page
To Previous Page IconTo Previous Page
To Previous Page IconTo Previous Page
Loading...
12
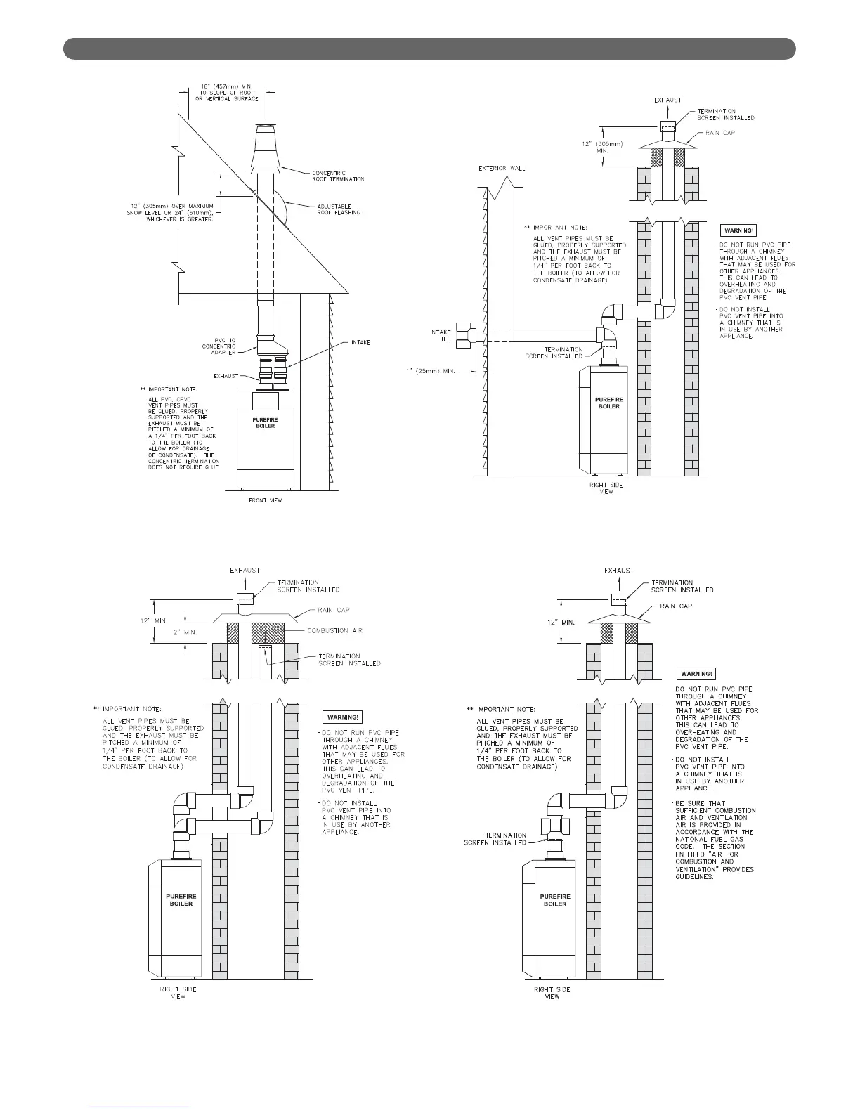
VENTING & AIR INLET PIPING
Figure 3.9: Concentric Vertical Vent Installation
Figure 3.10: Venting Through a Chimney Using
Outside Air
Figure 3.11: Venting Through a Chimney Using
Sidewall Outside Air
Figure 3.12: Venting with a Chimney Using Inside Air

Table of Contents

Related product manuals