EasyManua.ls Logo

Philips 55PFL4909 - Page 42

Philips 55PFL4909
81 pages
Print Icon
To Next Page IconTo Next Page
To Next Page IconTo Next Page
To Previous Page IconTo Previous Page
To Previous Page IconTo Previous Page
Loading...
9-8
PL14.26BBLD
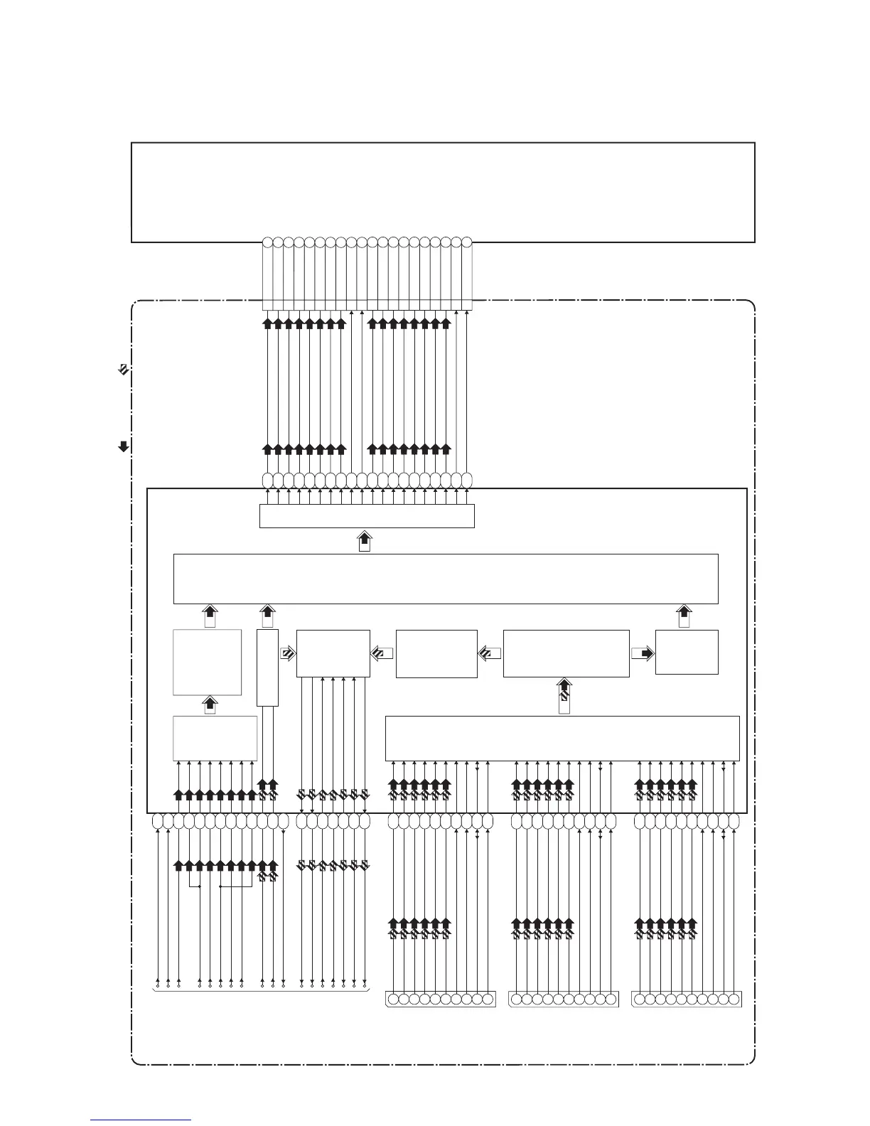
3. Digital Signal Process Block Diagram
DIGITAL MAIN CBA UNIT
IC3101 (DIGITAL SIGNAL PROCESS)
CN3013
DIGITAL
SIGNAL
PROCESS
HDMI-IN3
HDMI-IN1
JK3004
DATA0(+)
DATA0(-)
DATA1(+)
DATA1(-)
DATA2(+)
DATA2(-)
HDMI-DATA
HDMI-CLOCK
7
9
4
6
1
3
10
12
16
15
7
9
4
6
1
3
10
12
16
15
JK3003
CLOCK(+)
CLOCK(-)
AUDIO
DECODER
HDMI
I/F
TO VIDEO/AUDIO
BLOCK DIAGRAM
VIDEO
DECODER
VIDEO SIGNAL
AUDIO SIGNAL
A/D
CONVERTER
SW
VGA-R-IN
VGA-G-IN
VGA-B-IN
COM-VIDEO-Y/VIDEO-IN
COM-VIDEO-Pb-IN
COM-VIDEO-Pr-IN
DEMODULATOR
/MPEG DECODER
AUDIO I/F
DIF-OUT1
DIF-OUT2
IF-AGC
IF-AGC
VGA-HSYNC
VGA-VSYNC
VGA-HSYNC
VGA-VSYNC
LVDS
TX
AMP(L)-OUT
AMP(R)-OUT
SPDIF
AUDIO(L)-IN
AUDIO(R)-IN
HP(L)
HP(R)
DATA0(+)
DATA0(-)
DATA1(+)
DATA1(-)
DATA2(+)
DATA2(-)
HDMI-DATA
HDMI-CLOCK
CLOCK(+)
CLOCK(-)
14
20
19
17
16
15
24
22
26
23
46
47
35
34
44
45
62
156
155
2
1
4
3
154
153
139
140
148
147
150
149
152
151
146
145
135
134
49
50
48
90
89
88
84
83
82
81
86
85
91
40
39
38
37
36
35
33
32
30
29
RXE0(-)
RXE0(+)
RXE1(-)
RXE1(+)
RXE2(-)
RXE2(+)
RXECLK(-)
RXECLK(+)
RXE3(-)
RXE3(+)
77
76
75
72
71
70
69
74
73
78
24
23
22
21
20
19
17
16
14
13
RXO0(-)
RXO0(+)
RXO1(-)
RXO1(+)
RXO2(-)
RXO2(+)
RXOCLK(-)
RXOCLK(+)
RXO3(-)
RXO3(+)
LCD PANEL
ASSEMBLY
HDMI-IN2
7
9
4
6
1
3
10
12
16
15
JK3002
HDMI SW
DATA0(+)
DATA0(-)
DATA1(+)
DATA1(-)
DATA2(+)
DATA2(-)
HDMI-DATA
HDMI-CLOCK
CLOCK(+)
CLOCK(-)
9
8
11
10
13
12
7
6
137
136

Table of Contents

Related product manuals