EasyManua.ls Logo

Philips D8714/00 - LED Indicator Unit

Philips D8714/00
46 pages
Print Icon
To Next Page IconTo Next Page
To Next Page IconTo Next Page
To Previous Page IconTo Previous Page
To Previous Page IconTo Previous Page
Loading...
'J
) ,
i. <
- I '
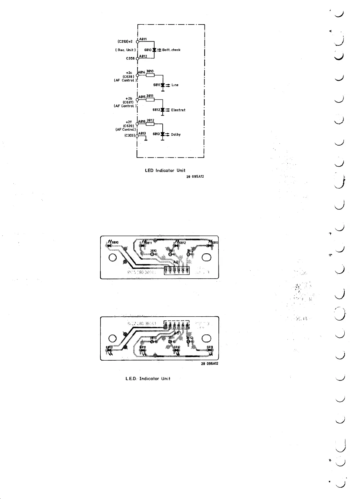
(C293)+2
~811 i J
(Rec. Unit).. 6810 :::: Bott. check i ..
C356 A812. J
. I
+2c
t"":J' 3810 I
(C638) .
(AF Cantral ). I J
I 6811:::: uno .
. I
!A8153811.
)+2b
~(C637) I (AF Cantral ï
! 6812:::: Electret i
+21
t;:";:I6 3812 i ~
(C639)
(AF Cantral) .
(C303Jk 6813 :::: Dolby !
i! J
. I
L ~
J
LED Indicator Unit
28 095A12 J
J
J
oor
,I
" J
'"
~
;~!',
.:'~f !; ~
,. "
'>'j', J
~
~
28 096A12
LE.O Indicator Unit J
J
J
I
~
-..
J
. .
J

Related product manuals