EasyManua.ls Logo

Philips VR730/07 - Function Schematic Diagram

Philips VR730/07
46 pages
Print Icon
To Next Page IconTo Next Page
To Next Page IconTo Next Page
To Previous Page IconTo Previous Page
To Previous Page IconTo Previous Page
Loading...
1-10-67
1-10-68
HC470SCF
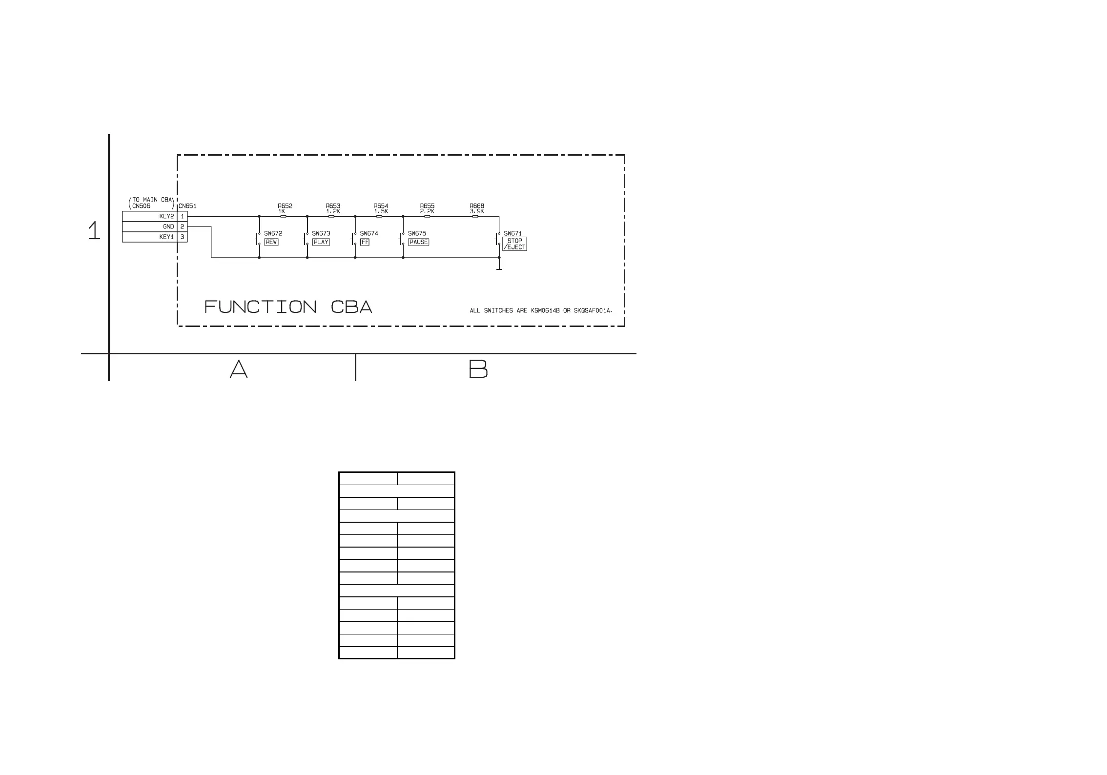
Function Schematic Diagram
Function Schematic Diagram
Parts Location Guide
Ref No. Position
CN651 A-1
R652 A-1
R653 A-1
R654 B-1
R655 B-1
R668 B-1
SW671 B-1
SW672 A-1
SW673 A-1
SW674 B-1
SW675 B-1
CONNECTOR
RESISTORS
SWITCHES

Related product manuals