EasyManua.ls Logo

Pit Boss PBV2A1 - Placing Control Knob, Meat Probe; Sliding Grease Tray into the Control Panel

Pit Boss PBV2A1
32 pages
Print Icon
To Next Page IconTo Next Page
To Next Page IconTo Next Page
To Previous Page IconTo Previous Page
To Previous Page IconTo Previous Page
Loading...
16
15
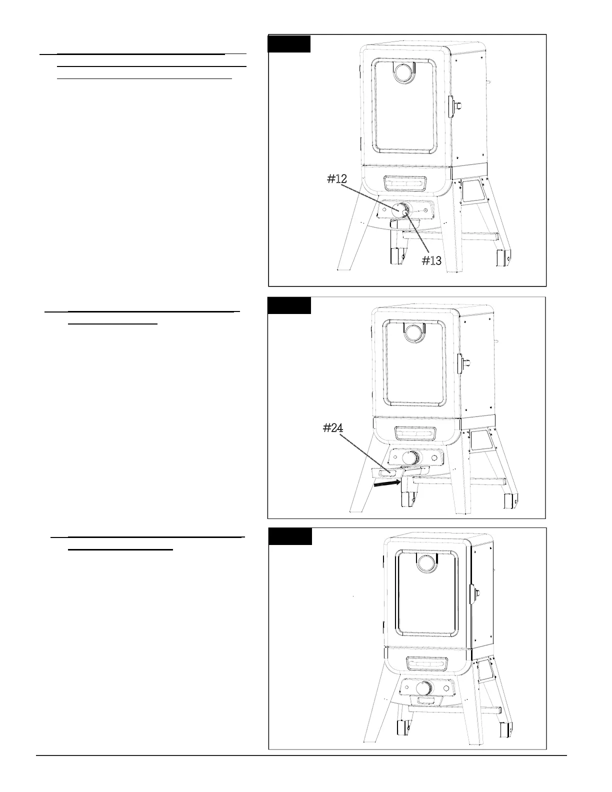
19.
PLACING CONTROL KNOB INTO THE
VALVE STEM AND INSERTING MEAT
PROBE INTO THE BOTTOM PANEL
Parts Required:
1 x Control Knob (#12)
1 x Meat Probe (#13)
Fig.19
20.
SLIDING GREASE TRAY INTO THE
CONTROL PANEL
Installation:
Fig.20
21. Assembly of the 2.2 Analog Electric
Smoker is completed
Fig.21
Installation:
Place Control Knob (#12) over the valve
stem, making certain to align the flat portion
of the stem with the flat portion of the knob
and push the Control Knob (#12) onto the
stem until it is firmly seated. as Fig.19 shown.
Slide Grease Tray Assembly (#24) into the
grease tray support rails provided in
the bottom panel as Fig.20 shown.
#12
--
-
-
-
-
-
-
-
-
-
-
-
-
-
•Insert Meat Probe (#13) into the bottom
panel as Fig.19 shown.
#13
-
-
-
-
-
-
-
-
-
-
-
#24
-
-
-
-
-
-
-
-
-
-
-
-
-
-
-
Parts Required:
1 x Grease Tray Assembly(#24)

Other manuals for Pit Boss PBV2A1

Related product manuals