EasyManua.ls Logo

Plockmatic BM 60 - REP 2.9 Adjustment stapler pressure

Plockmatic BM 60
38 pages
Print Icon
To Next Page IconTo Next Page
To Next Page IconTo Next Page
To Previous Page IconTo Previous Page
To Previous Page IconTo Previous Page
Loading...
REP 2.9 Adjustment stapler pressure
T08009 TJ
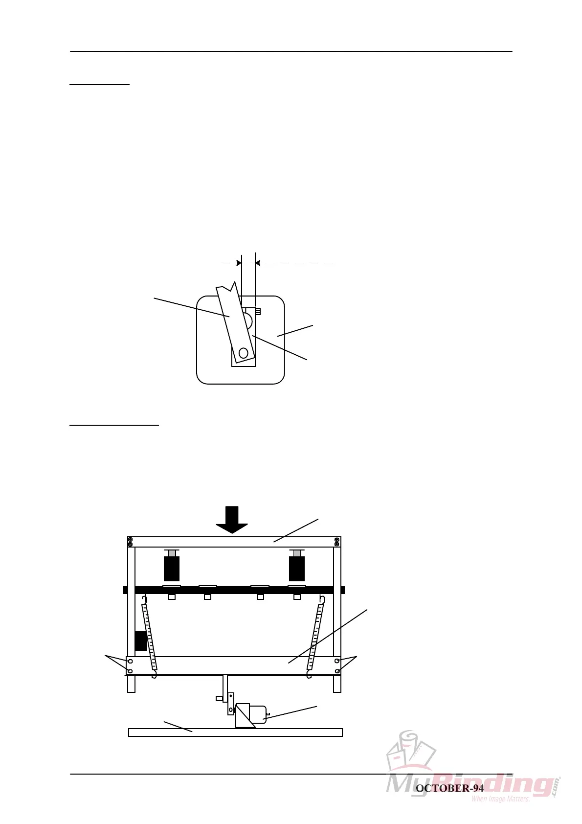
PURPOSE
It is possible to staple through 22 sheets of paper without adjusting the stapler pressure.
The stapler pressure should increase when thick sets are stapled.
To make this possible a piece of spring steel is mounted underneath the stapling bracket. If stapler
pressure is incorrect adjusted, staples will be loose when stapling two sheets.
To check do the following steps.
1. Switch off the main power switch and disconnect the power cord.
2. Remove Infeed cover, CRI 1.2.
3. Empty the Staple magazines.
4. Press on top of the Stapler bar until the Stapler heads are fully compressed.
5. Check that the distance is 9 mm from the stapler Motor crank to the plastic Crank arm.
9 mm
Stapler motor
Plastic crank
Motor crank
arm
ADJUSTMENT
1. Loosen the screws (1).
2. Position the stapler yoke bracket to obtain the 9 mm and tighten the screws.
Press here
Stapler motor
Stapler yoke
bracket
1
1
Stapler bar
stapling bracket
STAPLER FOLDER MODEL 60/61 PAGE 2.9 OCTOBER-94

Related product manuals