EasyManua.ls Logo

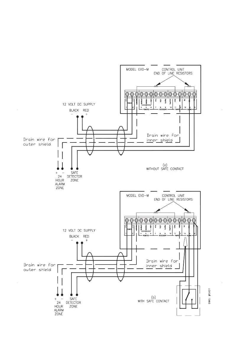
Potter EVD-2 - Recommended Control Panel Wiring with Safe Detector Zone and 24 Hour Alarm Zone

Potter EVD-2
22 pages
Print Icon
To Next Page IconTo Next Page
To Next Page IconTo Next Page
To Previous Page IconTo Previous Page
To Previous Page IconTo Previous Page
Loading...
13
EVD-2 • 5401042 • REV L • 03/05
RECOMMENDED CONTROL PANEL WIRING WITH
SAFE DETECTOR ZONE AND 24 HOUR ALARM ZONE
(High security B cable and connections to 24 hr zone as shown are required
for UL safe compatible installations)
Figure 5b

Related product manuals