EasyManua.ls Logo

Potter EVD-2 - Recommended Control Panel Wiring with Safe Detector Zone Only

Potter EVD-2
22 pages
Print Icon
To Next Page IconTo Next Page
To Next Page IconTo Next Page
To Previous Page IconTo Previous Page
To Previous Page IconTo Previous Page
Loading...
14
EVD-2 • 5401042 • REV L • 03/05
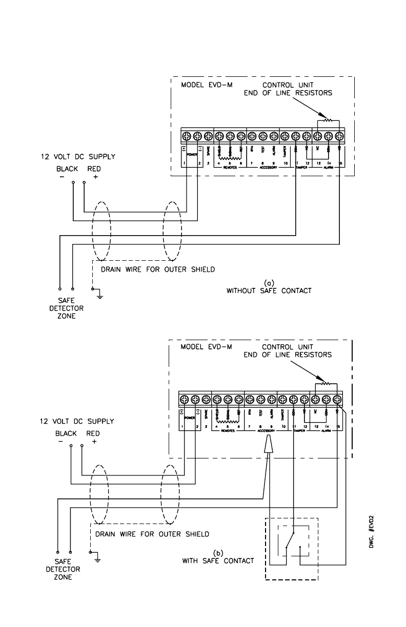
RECOMMENDED CONTROL PANEL WIRING WITH SAFE DETECTOR ZONE
ONLY (4 Conductor Shielded Cable Required)
Figure 5c

Related product manuals