EasyManua.ls Logo

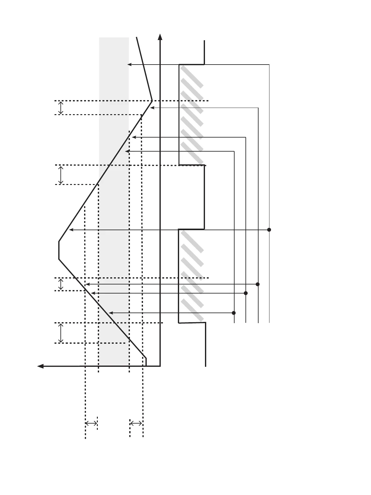
PR electronics 4116 - Graphic: Latch Function Window Behavior; Latch Window Timing and Release Conditions

PR electronics 4116
35 pages
Print Icon
To Next Page IconTo Next Page
To Next Page IconTo Next Page
To Previous Page IconTo Previous Page
To Previous Page IconTo Previous Page
Loading...
4116V105-UK 31
Setpoint high
ON delay OFF delay
Relay latched
Relay latched
Closed
Open
Relay contact (N.O.)
Release not possible (still inside window)
Release not possible (inside hysteresis)
Release not possible (OFF delay still active)
Release possible
Time
Window
ON delay OFF- delay
Setpoint low
Graphic depiction of latch function window
Hysteresis
Hysteresis

Related product manuals