EasyManua.ls Logo

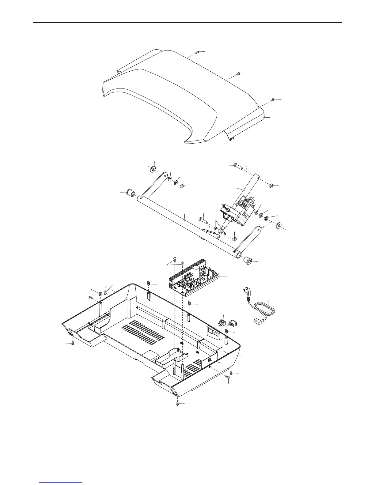
Pro-Form Power 545i - Exploded Drawing B

Pro-Form Power 545i
36 pages
Print Icon
To Next Page IconTo Next Page
To Next Page IconTo Next Page
To Previous Page IconTo Previous Page
To Previous Page IconTo Previous Page
Loading...
33
68
72
78
68
68
68
68
2
2
2
2
2
2
2
67
67
33
29
69
70
16
71
33
33
52
52
74
74
33
71
32
75
65
2
2
2
94
76
EXPLODED DRAWING B
Model No. PETL79817.0 R1216A

Related product manuals