EasyManua.ls Logo

Pro-Form PRO 9000 - Exploded Drawing

Pro-Form PRO 9000
40 pages
Print Icon
To Next Page IconTo Next Page
To Next Page IconTo Next Page
To Previous Page IconTo Previous Page
To Previous Page IconTo Previous Page
Loading...
36
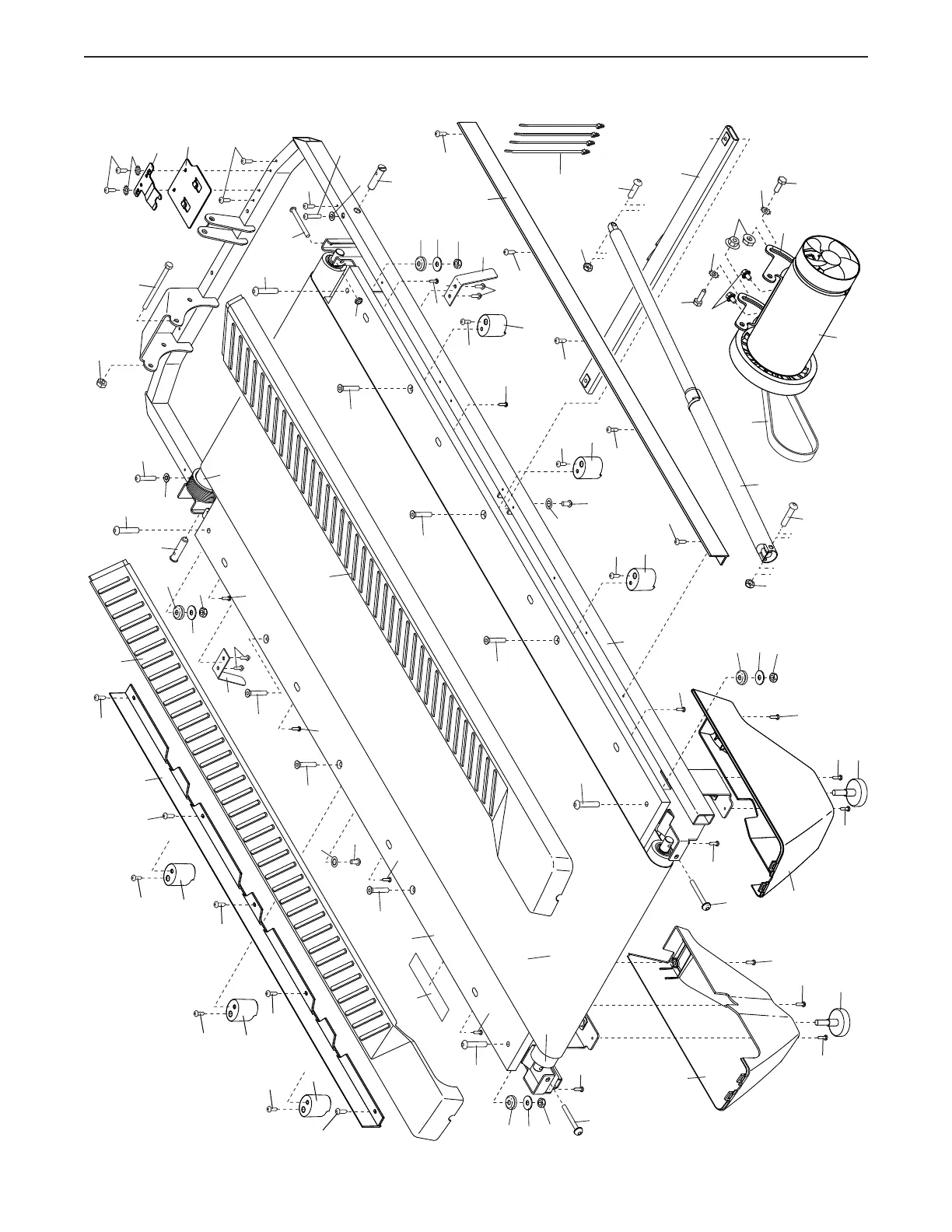
EXPLODED DRAWING A
Model No. PFTL15820.0 R0121A
46
15
39
35
42
27
31
45
52
50
42
43
27
17
40
12
29
34
56
57
29
15
27
29
17
55
43
58
39
27
59
42
35
39
51
26
31
55
54
39
35
26
51
31
49
48
47
31
21
10
5
5
5
5
5
5
67
15
24
32
13
41
32
13
60
25
27
25
61
25
37
44
65
18
66
18
18
18
18
18
18
18
18
18
18
18
18
18
18
18
18
18
65
44
21
10
64
31
42
35
39
39
28
63
62
44
53
31
44
44
44
25
25
31
25

Related product manuals