EasyManua.ls Logo

Procom MD2TPA - Installation

Procom MD2TPA
35 pages
Print Icon
To Next Page IconTo Next Page
To Next Page IconTo Next Page
To Previous Page IconTo Previous Page
To Previous Page IconTo Previous Page
Loading...
1111
Figure 4 - Mounting clearances as viewed from
front of heater (inches)
NOTICE: This heater is intended for use as supplemental heat. Use this heater along with your primary heating
system. Do not install this heater as your primary heat source. If you have a central heating system, you may
run system’s circulating blower while using heater. This will help circulate the heat throughout the house. In the
event of a power outage, you can use this heater as your primary heat source.
CAUTION: If you install the heater in a home garage:
Heater pilot and burner must be at least 18 inches above the oor.
Place heater where moving vehicle will not hit it.
WARNING: A qualied service person must install heater. Follow all local codes.
WARNING: Never install the heater
in a bedroom or bathroom
in a recreational vehicle
where curtains, furniture, clothing, or other ammable objects are less than 36 inches from the front, top, or
sides of the heater
in high trafc areas
in windy or drafty areas
INSTALLATION
CAUTION: This heater creates warm air currents. These currents move heat to wall surfaces next to heater.
Installing heater next to vinyl or cloth wall coverings or operating heater where impurities (such as tobacco
smoke, aromatic candles, cleaning uids, oil or kerosene lamps, etc.) in the air exist, may cause walls to discolor.
IMPORTANT: Vent-free heaters add moisture to the air. Although this is benecial, installing heater in rooms
without enough ventilation air may cause mildew to form too much moisture. See Air for Combustion and
Ventilation, pages 8 through 10
Check Gas Type
Be sure your gas supply is right for your heater.
Otherwise, call dealer where you bought the
heater for proper type heater.
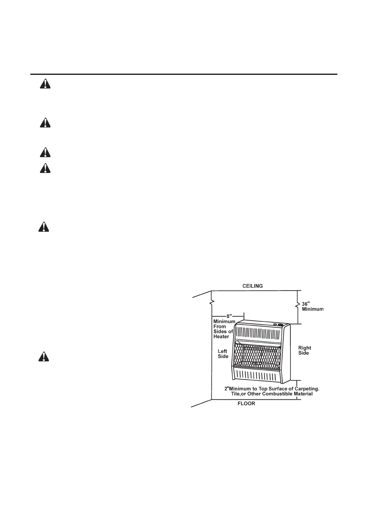
Clearances To Combustibles
Carefully follow the instructions below. This
heater is a freestanding unit designed to be
mounted on a wall or set directly on the oor.
WARNING: Maintain the minimum clearances
shown in Figure 4. If you can, provide greater
clearances from oor, ceiling, and joining wall.
LOCATING HEATER
This heater is designed to be mounted on a wall.
For convenience and efciency, install heater:
1) where there is easy access for operation,
inspection, and service.
2) In the coldest part of room.

Related product manuals