EasyManua.ls Logo

Procom MD2TPA - Checking Gas Connections

Procom MD2TPA
35 pages
Print Icon
To Next Page IconTo Next Page
To Next Page IconTo Next Page
To Previous Page IconTo Previous Page
To Previous Page IconTo Previous Page
Loading...
1616
CHECKING GAS CONNECTIONS
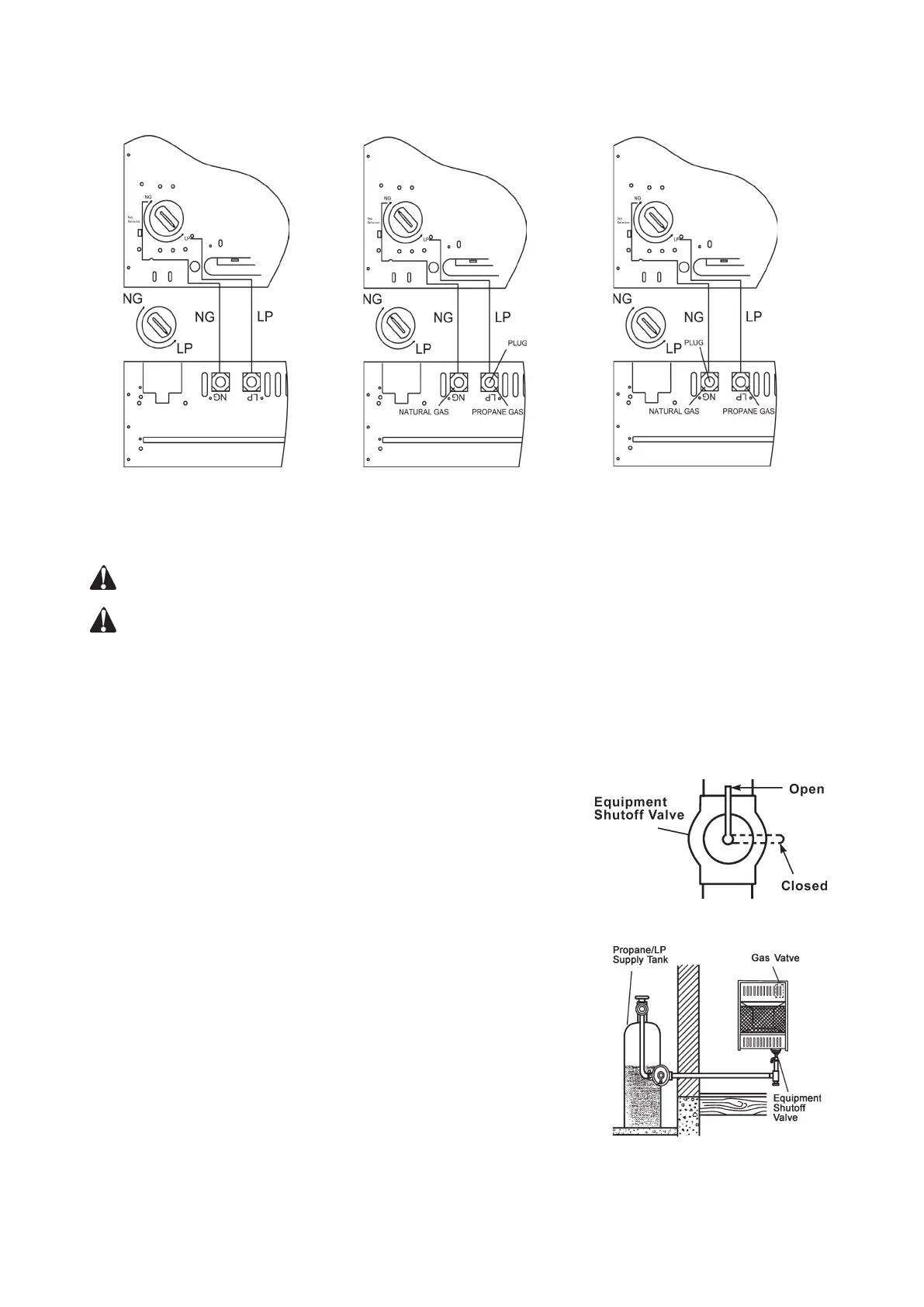
Figure 17 - Equipment Shutoff Valve
Figure 18 - Fuel Supply
Figure 14 Figure 15
Figure 16
WARNING: Test all gas piping and connections for leaks after installing or servicing. Correct all leaks at once.
WARNING: Never use an open ame to check for a leak. Apply a mixture of liquid soap and water to all joints. If
bubbles form, there is a leak. Correct all leaks at once.
PRESSURE TESTING GAS SUPPLY PIPING SYSTEM
Test Pressures In Excess Of 1/2 PSIG (3.5kPa)
1. Disconnect heater with its appliance main gas valve (control valve) and equipment shutoff valve from gas supply
piping system. Pressures in excess of 1/2 PSIG will damage heater regulator.
2. Cap off open end of gas pipe where equipment shutoff valve was connected.
3. Pressurize supply piping system by either using compressed air or opening
gas supply valve.
4. Check all joints of gas supply piping system. Apply mixture of liquid soap
and water to gas joints. If bubbles form, there may be a leak.
5. Correct all leaks at once.
6. Reconnect heater and equipment shutoff valve to gas suply. Check
reconnected ttings for leaks.
Test Pressures Equal To or Less Than 1/2 PSIG (3.5 kPa)
1. Close equipment shutoff valve (see Figure 17).
2. Pressurize supply piping system by either using compressed air or
opening natural supply tank valve.
3. Check all joints from gas meter to equipment shutoff valve
(see Figure 18).
Apply mixture of liquid soap and water to gas joints. If bubbles
form, there is a leak.
4. Correct all leaks at once.

Related product manuals