EasyManua.ls Logo

Procom MD2TPA - Inspecting Burner; Pilot Flame Pattern; Burner Flame Pattern

Procom MD2TPA
35 pages
Print Icon
To Next Page IconTo Next Page
To Next Page IconTo Next Page
To Previous Page IconTo Previous Page
To Previous Page IconTo Previous Page
Loading...
19
INSPECTING BURNER
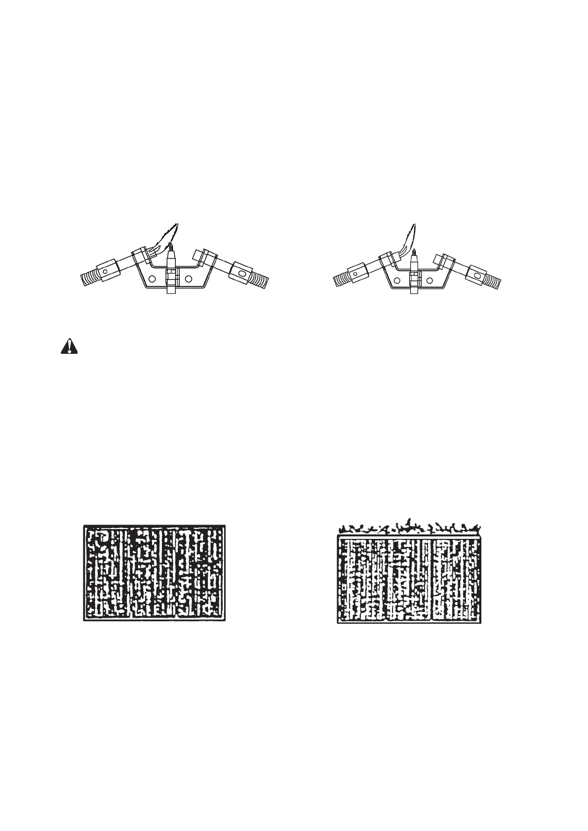
Check pilot ame pattern and burner ame pattern often.
PILOT FLAME PATTERN
Figure 21 shows a correct pilot ame pattern. Figure 22 shows a incorrect pilot ame pattern. The incorrect pilot
ame is not touching the thermocouple. This will cause the thermocouple to cool, which shuts the heater off. If
pilot ame pattern is incorrect:
turn heater off (see “To Turn Off Gas to Appliance” on page 18)
see Troubleshooting pages 21 through 23.
WARNING: If yellow tipping occurs, your heater could produce increased levels of carbon monoxide. If
burner ame pattern shows yellow tipping, follow instructions at bottom of this page.
Notice: Do not mistake orange ames with yellow tipping. Dirt or other ne particles enter the heater and burn
causing brief patches of orange ame.
BURNER FLAME PATTERN
Figure 23 shows a correct burner ame pattern. Figure 24 shows an incorrect burner ame pattern. If burner
ame pattern is incorrect then:
turn heater off (see “To Turn Off Gas to Appliance” on page 18).
see Troubleshooting, pages 21 through 23
Figure 21 - Correct Pilot Flame Pattern
Figure 22 - Incorrect Pilot Flame Pattern
Fig. 22 - Correct Pilot Flame Pattern with Control
Knob Set to High Flame (5)
Fig. 22 - Incorrect Pilot Flame Pattern with
Control Knob Set to High Flame (5)

Related product manuals