EasyManua.ls Logo

Procom SN280TYA - Parts Breakdown & Parts List

Procom SN280TYA
22 pages
Print Icon
To Next Page IconTo Next Page
To Next Page IconTo Next Page
To Previous Page IconTo Previous Page
To Previous Page IconTo Previous Page
Loading...
17
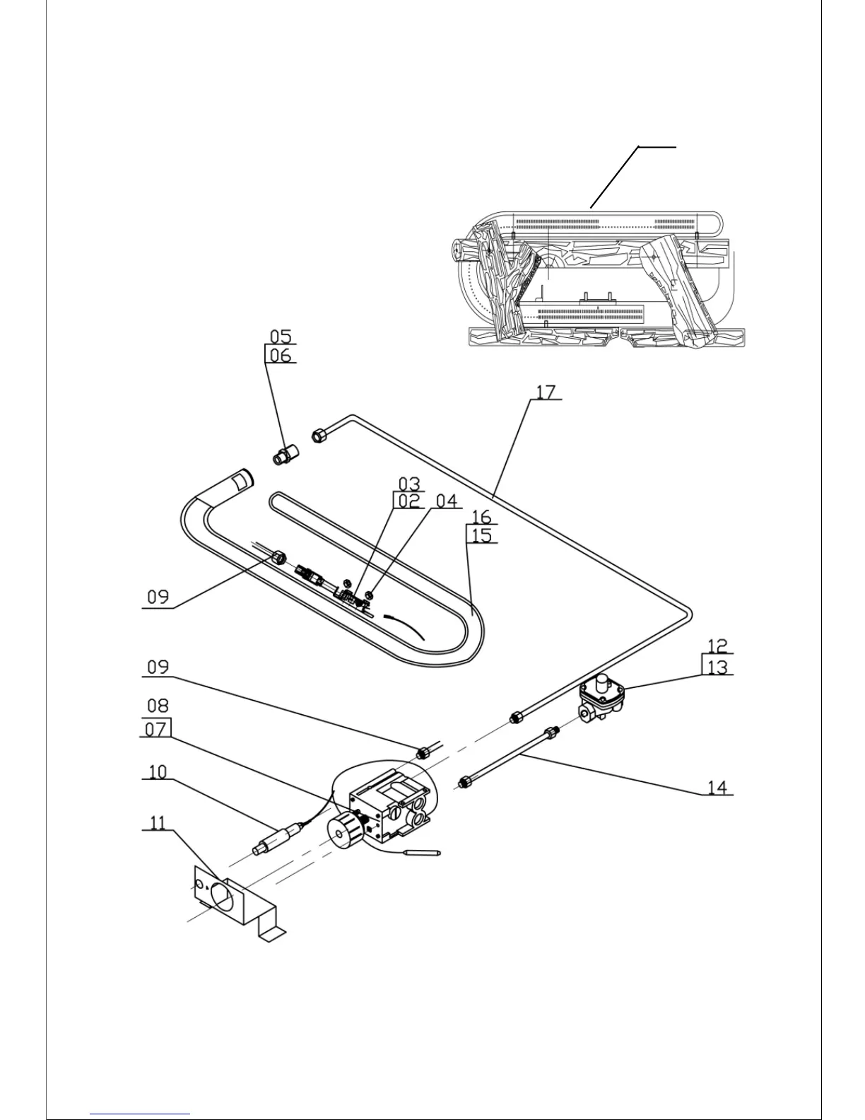
ILLUSTRATED
PARTS BREAKDOWN
SN280TYA
SL280TYA
1

Related product manuals