EasyManua.ls Logo

ProForm 415 CT - Page 30

ProForm 415 CT
32 pages
Print Icon
To Next Page IconTo Next Page
To Next Page IconTo Next Page
To Previous Page IconTo Previous Page
To Previous Page IconTo Previous Page
Loading...
90
5
90
5
90
5
96
96
8
7
11
7
11
27
35
89
89
85
95
92
92
94
90
5
94
25
26
35
35
97
98
87
10
10
8
93
87
86
83
82
81
81
80
38
38
1
1
14
14
4
4
13
13
9
9
27
35
84
3
3
11
11
88
91
30
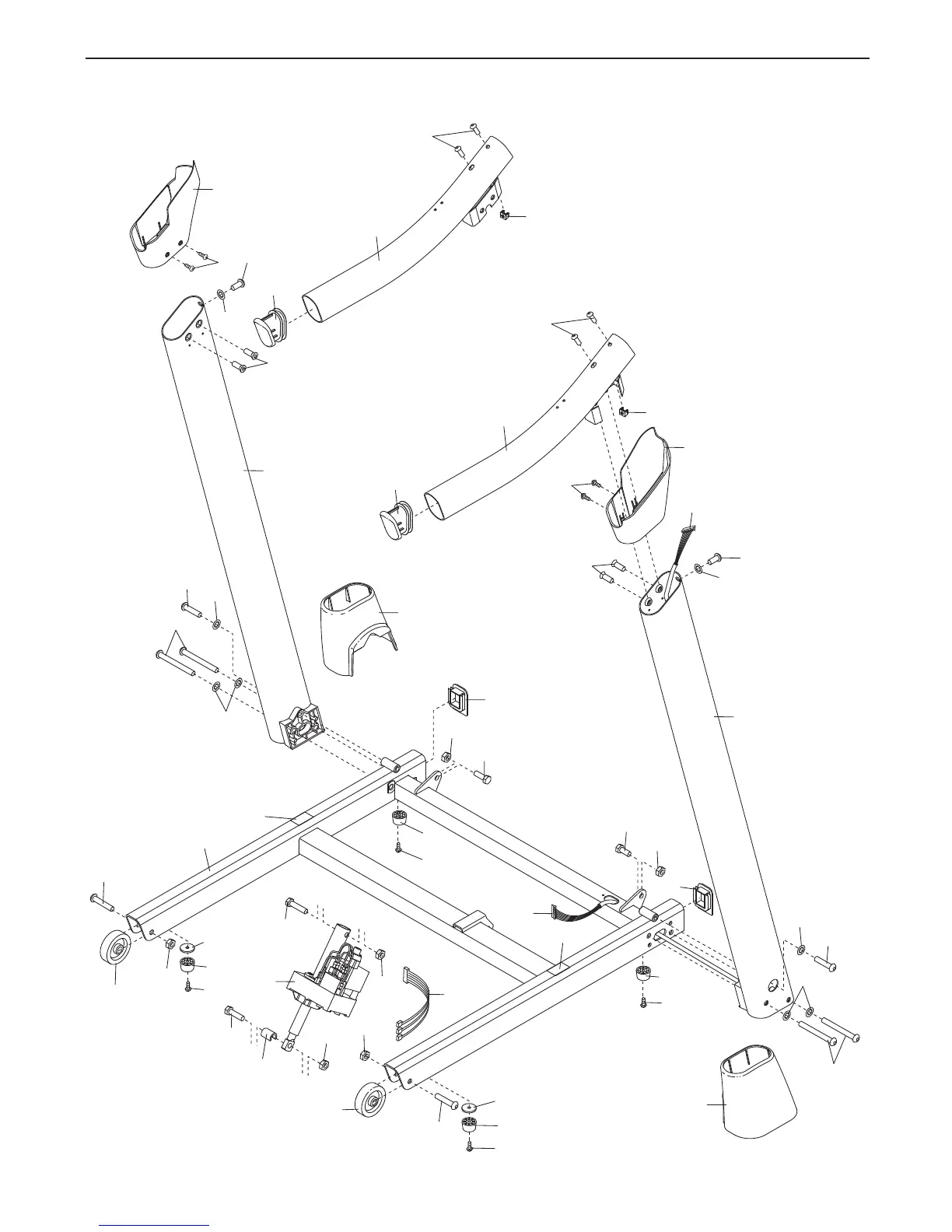
EXPLODED DRAWING C Model No. PFTL49611.1 R0611A

Related product manuals