EasyManua.ls Logo

ProTec Polymer Processing FG 206 - Equipment and Options; Volume Expansion Stainless Steel

Default Icon
76 pages
Print Icon
To Next Page IconTo Next Page
To Next Page IconTo Next Page
To Previous Page IconTo Previous Page
To Previous Page IconTo Previous Page
Loading...
ProTec Polymer Processing GmbH Foerdergeraet_FG201-FG206_BA_1v0_2018_en
45
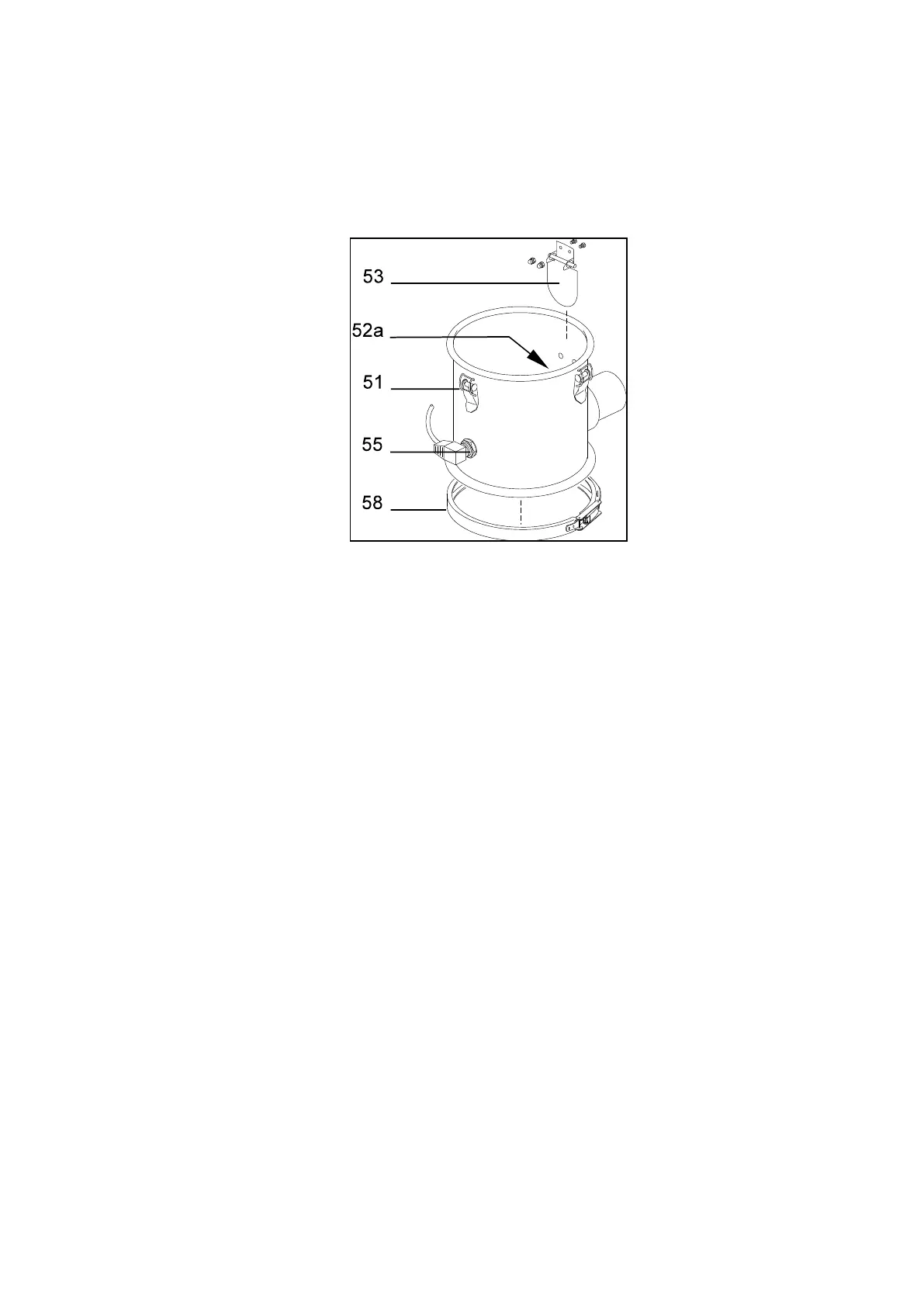
7.4 Equipment and options
7.4.1 Volume expansion stainless steel
Vol.expans.ø 38 assy. (without lock)
Vol.expans. ø 55 assy. (without locks)
51 Lock assy.
52a V-gasket ø 38 and ø 55
53 Check valve ø 38 and ø 55, assembly
58 Lever clamping ring

Table of Contents

Related product manuals