EasyManua.ls Logo

QSC CX302V - Amplifier Configuration Settings; Mode Switch Functions; Low Frequency Filter Options

QSC CX302V
63 pages
To Next Page IconTo Next Page
To Next Page IconTo Next Page
To Previous Page IconTo Previous Page
To Previous Page IconTo Previous Page
Loading...
EN
7
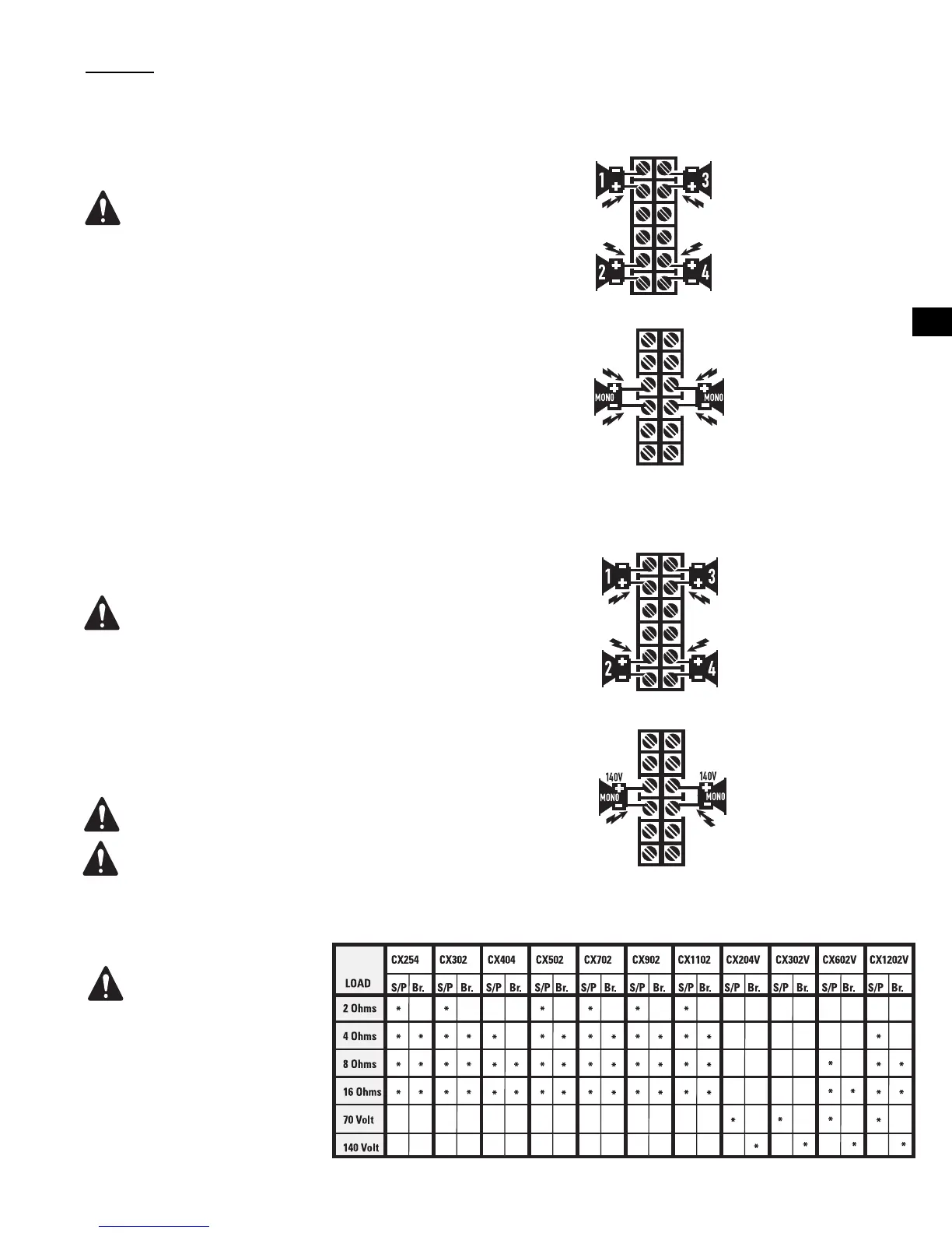
70V stereo or parallel con-
nection- Each 70V zone
connects to its respective
channel. Ensure that all
speaker connections main-
tain proper polarity.
140V Bridge connection-
Wire each bridged pair to a
140V circuit as shown.
Check for proper polarity.
Outputs
Wiring connections are shown on the back of the chassis. Carefully note the
polarity marks, which are arranged to make Bridge Mode connections easier.
Four-channel models are shown in the examples; two-channel models are simi-
lar.
OUTPUT TERMINAL SAFETY WARNING! Do not touch output terminals while
amplifier power is on. Make all connections with amplifier turned off. Risk of
hazardous energy!
Low Impedance Outputs
Stereo and Parallel Mode- Connect each loudspeaker to its own channel of the
amplifier, as shown on the chassis label. The mode configuration switches must
be set for Stereo or Parallel mode.
Bridge Mode- Bridge mode configures the channel pair to drive a single high-
power loudspeaker load. The mode configuration switches must be set for Bridge
mode. Use only the first channel's input and Gain control. Set the second chan-
nel's Gain control at minimum.
Distributed Outputs (“V” models, 70V/140V)
Stereo and Parallel Mode- Connect each 70V circuit to its own channel of the
amplifier, as shown on the chassis label. The mode configuration switches must
be set for Stereo or Parallel mode.
70V Output- Risk of hazardous energy! Class 2 wiring shall be used for 70V
outputs.
Bridge Mode- Bridge mode configures the channel pair to drive a single 140V
audio circuit. The mode configuration switches must be set for Bridge mode. Use
only the first channel's input and Gain control. Set the second channel's Gain
control at minimum. Connect the load as shown on the chassis label.
140V BRIDGE MODE PRECAUTIONS:
Class 3 Wiring shall be used for bridged mono 140V outputs.
Connect only 140V distributed audio circuits in bridged mode. Do not use 70V
loads in bridge mode! Use Stereo or Parallel mode channels to drive 70V
loads. 140V is the minimum for bridge mode operation.
Low Impedance Stereo or
Parallel Connection- Each
loudspeaker load connects
to its respective channel.
Four channel model shown.
Ensure that all speaker con-
nections maintain proper
polarity.
Low Impedance Bridge
Connection- Each loud-
speaker load connects to a
bridged channel pair. Four-
channel model shown.
Check for proper polarity.
Loads Rated by Model
Be sure the model amplifier you
are using is rated for the load!
An asterisk (*)indicates the model is
rated for the load.
(S/P)= Stereo/Parallel mode
(Br.)= Bridge mode

Other manuals for QSC CX302V

Related product manuals