EasyManua.ls Logo

QSC CX902 - Page 20

QSC CX902
63 pages
To Next Page IconTo Next Page
To Next Page IconTo Next Page
To Previous Page IconTo Previous Page
To Previous Page IconTo Previous Page
Loading...
ES
20
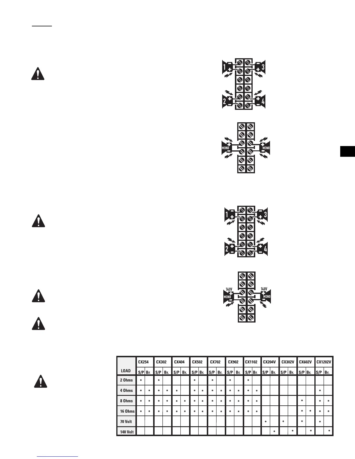
Conexión en estéreo o
paralelo de 70V: Cada zona
de 70V se conecta a su
canal respectivo. Aseg-
úrese de que todas las
conexiones del altavoz
mantengan la polaridad
adecuada.
Conexión puenteada de
140V: Conecte cada par
puenteado a un circuito de
140V como se muestra.
Revise que la polaridad
sea correcta.
Salidas
Las conexiones del cableado se muestran en la parte posterior del chasis. Note
detenidamente las marcas de polaridad, que están configuradas para facilitar las
conexiones del modo puenteado. En el ejemplo se muestran los modelos de
cuatro canales; los modelos de dos canales son similares.
¡ADVERTENCIA SOBRE LA SEGURIDAD DE LOS TERMINALES DE SALIDA!
No toque los terminales de salida mientras el amplificador está encendido.
Asegúrese de que todas las conexiones con el amplificador estén apagadas.
¡Riesgo de energía peligrosa!
Salidas de baja impedancia
Modo estéreo y en paralelo: Conecte cada altavoz a su propio canal del ampli-
ficador, como se muestra en la etiqueta del chasis. Los conmutadores de config-
uración de modo deben ajustarse en modo estéreo o paralelo.
Modo puenteado: El modo puenteado configura el par de canales para que
excite una sola carga de alta potencia del altavoz. Los conmutadores de configu-
ración de modo se deben ajustar en el modo puenteado. Use sólo la entrada y el
control de ganancia del primer canal. Ajuste el control de ganancia del segundo
canal al mínimo.
Salidas distribuidas (modelos “V”, 70V/140V)
Modo estéreo y en paralelo: Conecte cada circuito de 70V a su propio canal
del amplificador, como se muestra en la etiqueta del chasis. Los conmutadores
de configuración de modo deben ajustarse en modo estéreo o paralelo.
Salida de 70V: ¡Riesgo de energía peligrosa! Se debe usar un cableado Clase 2
para las salidas de 70V.
Modo puenteado: El modo puenteado configura el par de canales para que
excite a un solo circuito de sonido de 140V/200V. Los conmutadores de configu-
ración de modo se deben ajustar en el modo puenteado. Use sólo la entrada y el
control de ganancia del primer canal. Ajuste el control de ganancia del segundo
canal al mínimo. Conecte la carga como se muestra en la etiqueta del chasis.
PRECAUCIONES CON EL MODO PUENTEADO DE 140V:
El cableado de Clase 3 se debe usar para las salidas monopuenteadas
de 140V.
Conecte sólo circuitos de sonido distribuido de 140V en modo puenteado. ¡No
use cargas de 70V en modo puenteado! Use los canales de modo estéreo o
paralelo para excitar cargas de 70 V. 140V es el mínimo para una operación de
modo puenteado.
Conexión en estéreo o en
paralelo de baja impedan-
cia: Cada carga de altavoz
se conecta a su canal
respectivo. Se muestra el
modelo de cuatro canales.
Asegúrese de que todas las
conexiones del altavoz
mantengan la polaridad
adecuada.
Conexión puenteada de
baja impedancia: Cada
carga del altavoz se
conecta a un par de canal
puenteado. Se muestra el
modelo de cuatro canales.
Cargas clasificadas por
modelo
¡Asegúrese de que el amplifi-
cador modelo que está
usando esté clasificado para
la carga!
Un asterisco (*) indica que el mod-
elo está clasificado para la carga.
(S/P)= Modo estéreo/paralelo
(Br.)= Modo puenteado

Other manuals for QSC CX902

Related product manuals