EasyManua.ls Logo

QSC CX902 - Page 56

QSC CX902
63 pages
To Next Page IconTo Next Page
To Next Page IconTo Next Page
To Previous Page IconTo Previous Page
To Previous Page IconTo Previous Page
Loading...
CH
56
70V 立体声或并行连接
— 每个 70V 区连接到
各自通道。确定所有扬
声器连接极性正确。
140V 桥连接 - 连接每
一桥对到一个 140V
路,如图所示。检查极
性正确与否。
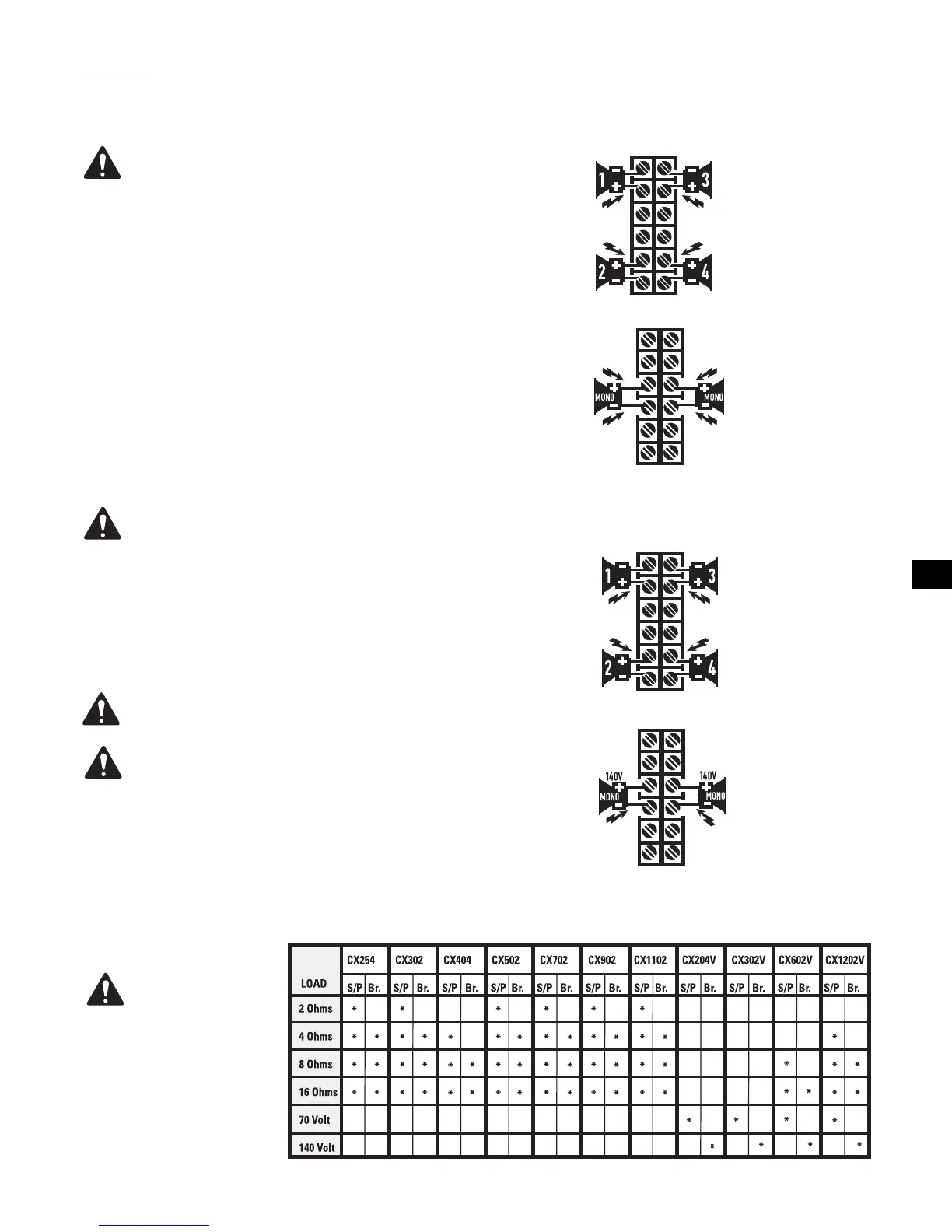
输出端
接线显示在机箱背面。仔细注意极性标记,排列顺序方便进行桥
接。四通道型号如实例所示;双通道与此相类似。
输出端子安全警告!放大器电源打开时切勿接触输出端子。进行
所有连线之前先关闭放大器电源。有触电的危险!
低阻抗输出
立体声和并行模式-将各扬声器连到各自的放大器通道,如机箱
签上所示。模式设置开关必须设置为立体声或并行模式。
桥接模式-桥接模式对通道对进行配置以驱动单一高功率扬声器
载。模式配置开关必须设置为桥接模式。只使用第一个声道的输入
端和增益控制。将第二声道的增益控制设置为最小。
分布式输出 “V”型,70V/140V)
立体声和并行模式-将各 70V 电路连到各自的放大器通道,如机
箱标签上所示。模式设置开关必须设置为立体声或并行模式。
70V 输出 - 危险电源!对于 70V 输出,应使用 2 类配线连接。
桥接模式 - 桥接模式设置通道对以驱动单一 140V 音频电路。模式
配置开关必须设置为桥接模式。只使用第一个声道的输入端和增益
控制。将第二声道的增益控制设置为最小。连接负载,如机箱标签
所示。
140V 桥接模式注意事项:
对于单桥 140V 输出,应使用 3 类配线
在桥接模式中,只连接 140V 分布式音频电路。在桥接模式中,
不要使用 70V 负载!使用立体声或并行模式通道驱动 70V 负
载。140V 是桥接模式运行的最小值。
低阻抗立体声或并行连
接-各扬声器负载与各
自的通道相连。所示四
通道型号。确定所有扬
声器连接极性正确。
低阻抗桥接-各扬声器
负载连到桥接的通道对。
显示的是四通道型号。
检查极性正确与否。
按型号额定负载
确保所用型号的放大
器与该负载匹配!
星号 (*)表示该型号和负
载匹配。
(S/P)= 立体 / 并行模式
(Br.)= 桥接模式

Other manuals for QSC CX902

Related product manuals