EasyManua.ls Logo

Quectel EG91-EX - Page 50

Quectel EG91-EX
109 pages
Print Icon
To Next Page IconTo Next Page
To Next Page IconTo Next Page
To Previous Page IconTo Previous Page
To Previous Page IconTo Previous Page
Loading...
LTE Standard Module Series
EG91 Series Hardware Design
EG91_Series_Hardware_Design 49 / 106
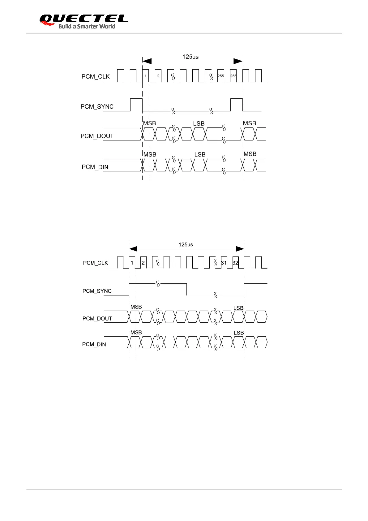
Figure 22: Primary Mode Timing
Figure 23: Auxiliary Mode Timing
The following table shows the pin definition of PCM and I2C interfaces which can be applied on audio
codec design.

Table of Contents

Related product manuals