EasyManua.ls Logo

Raypak B-R259 - Page 31

Raypak B-R259
48 pages
Print Icon
To Next Page IconTo Next Page
To Next Page IconTo Next Page
To Previous Page IconTo Previous Page
To Previous Page IconTo Previous Page
Loading...

-;8;84G8EE8DH<E8FJ4G8E9?BJ4A7CBF<G<I8CE8FFHE8GB9<E84A7BC8E4G8CEBC8E?L#G@HFGG;8E89BE858<AFG4??87
7BJAFGE84@B9G;87<F6;4E:8F<78B9G;89<?G8ECH@CGLC<64?<AFG4??4G<BA<FC?H@5874F9B??BJF
 -;8<A?8GF<78B9G;89<?G8E<FC?H@5877<E86G?LGBG;87<F6;4E:8F<78B9G;89<?G8ECH@C
 -;8BHG?8GF<78B9G;89<?G8E<FG;8AC?H@587GBG;8<A?8GB9G;8;84G8E4A7
 -;8BHG?8GB9G;8;84G8E<FC?H@587GBG;8E8GHEA?<A8GBG;8CBB?BEFC4-;8CH@C9<?G8E4A7;84G8E4E8G;HF
C?H@587<AF8E<8F,4?G:8A8E4GBEF4A76;8@<64?98878EF@HFG587BJAFGE84@B9G;8CBB?;84G8E
"84G8E@HFG58?B64G87FBG;4G4ALJ4G8E?84>FJ<??ABG74@4:8G;8FGEH6GHE8B947=468AG4E84*/C<C8@4L
58:?H877<E86G?L<AGB;8478EHA<BAF
CAUTION: A 477<G<BA4? FBHE68 B9;84G87 J4G8E 8: 4 FB?4E FLFG8@@HFG58 6BAA86G87 GB G;8 @4<A ?<A8
4;847B9G;8;84G8E<A?8GC<C8<ABE78E9BE<GGB46G4FG;8CE<@4EL;84GFBHE68#9G;8CE<@4ELFLFG8@CEBI<78F
478DH4G8;84GGB@4<AG4<AF8GCB<AGG;8;84G8EJ<??ABG9<E8847I<F87G;4GG;86BAGEB?C4A8?J<??G;8A7<FC?4L
F8AF87 J4G8E G8@C8E4GHE8F 7BJAFGE84@ B9 G;8 CE<@4EL ;84G<A: FLFG8@ E4G;8E G;4A G;8 G8@C8E4GHE8 B9 G;8
J4G8E8K<G<A:G;8CBB?
*?H@5<A:9EB@G;8;84G8E546>GBG;8CBB?BEFC4@HFGABG;4I84ALI4?I8FBEE8FGE<6G<BAG;4G6BH?7CE8I8AG9?BJ
J;8AG;8CH@C<FBC8E4G<A:
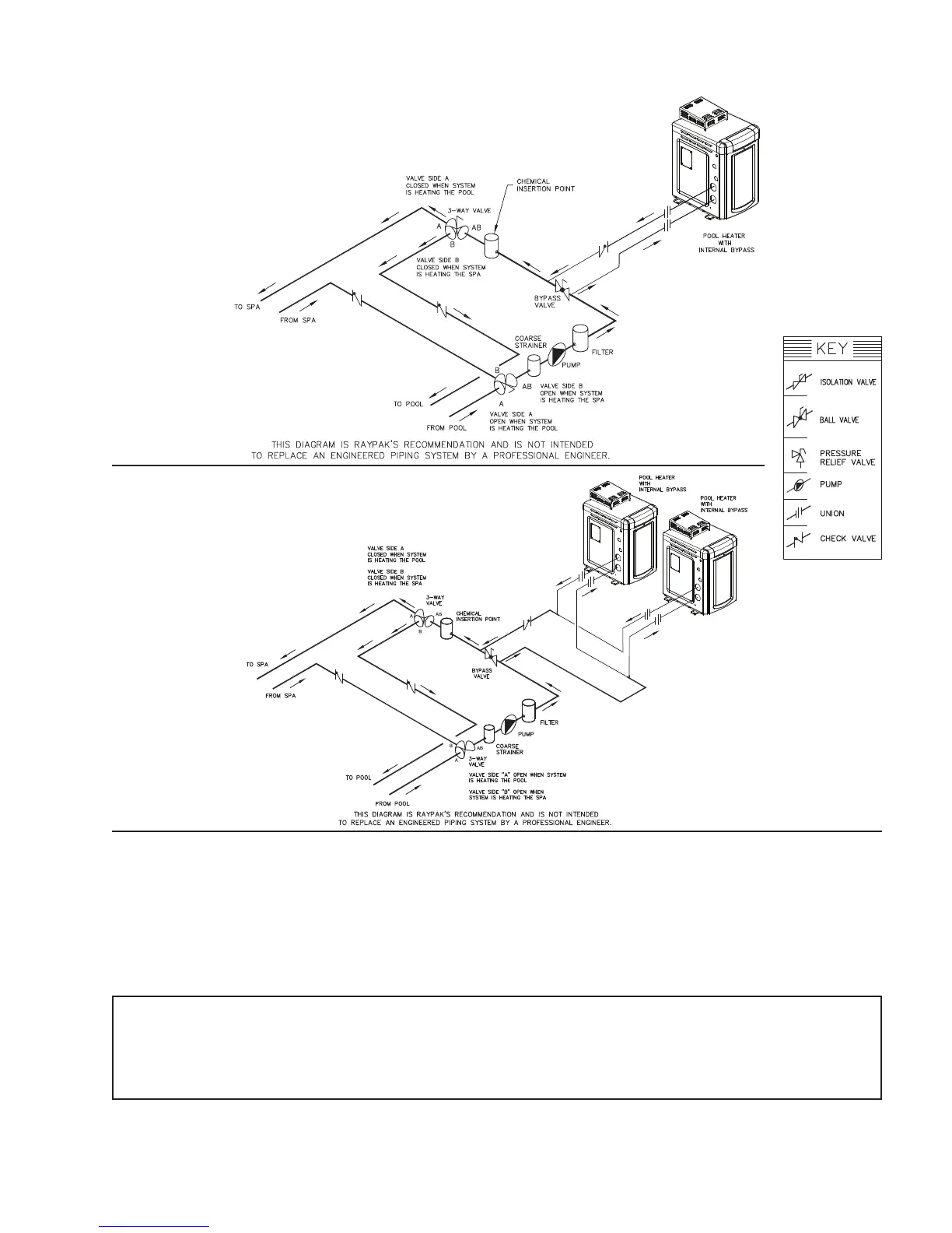
Single Pool Heater
Installation
Multiple Pool Heater
Installation

Table of Contents

Related product manuals