EasyManua.ls Logo

Renault 852 - Fitting the Rings; Checking Cylinder Liner Protrusion

Renault 852
119 pages
Print Icon
To Next Page IconTo Next Page
To Next Page IconTo Next Page
To Previous Page IconTo Previous Page
To Previous Page IconTo Previous Page
Loading...
ENGINE AND PERIPHERALS
Overhauling the engine
10
10-85
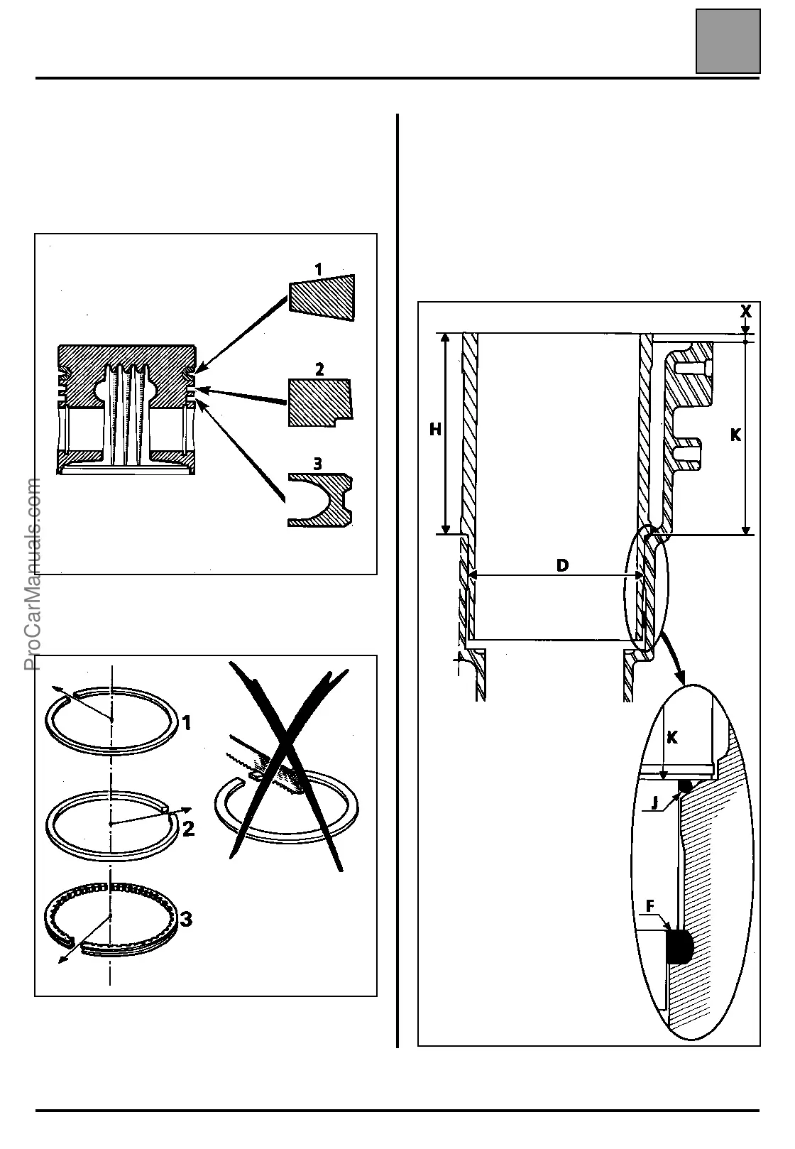
FITTING THE PISTON RINGS
Rings set to their original adjustment must be free in
their channels.
Ensure the rings are fitted in the correct orientation.
Fit the rings such that the gaps are equally spaced
around the piston.
CHECKING CYLINDER LINER PROTRUSION
This engine is fitted with cylinder liner base O-rings (J)
and cylinder liner shaft seals (F).
The seals only maintain tightness
The cylinder liner is directly supported by the cylinder
block and the cylinder liner protrusion (X) is assured
by the manufactured dimensions.
86187R
72552R
ProCarManuals.com

Related product manuals