EasyManua.ls Logo

Renogy REGO - Setting Battery Type

Renogy REGO
101 pages
Print Icon
To Next Page IconTo Next Page
To Next Page IconTo Next Page
To Previous Page IconTo Previous Page
To Previous Page IconTo Previous Page
Loading...
65
Operation
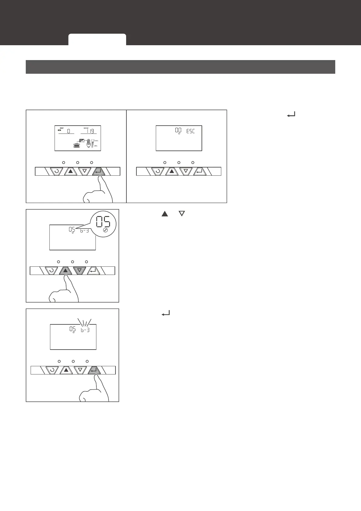
Setting Battery Type
6HWWKHEDWWHU\W\SHLPPHGLDWHO\DIWHUWKHLQYHUWHUFKDUJHULVSRZHUHGRQ5HIHUWRWKH
VSHFL¿FDWLRQVSURYLGHGE\WKHEDWWHU\PDQXIDFWXUHUZKHQFKRRVLQJDSUHVHWEDWWHU\'DPDJH
FDXVHGE\LQFRUUHFWEDWWHU\W\SHYRLGVZDUUDQW\
AC/INV CHG FAULT
VV
AC/INV CHG FAULT
1. Long press until the
LCD enters setting mode.
AC/INV CHG FAULT
2. Press or to display Program 05.
AC/INV CHG FAULT
3. Press to enter 05 settings.
LCD Button Setting Battery Type User Mode

Other manuals for Renogy REGO

Related product manuals