EasyManua.ls Logo

RIDGID 614 - Wiring Diagram

RIDGID 614
12 pages
Print Icon
To Previous Page IconTo Previous Page
To Previous Page IconTo Previous Page
Loading...
Ridge Tool Company
10
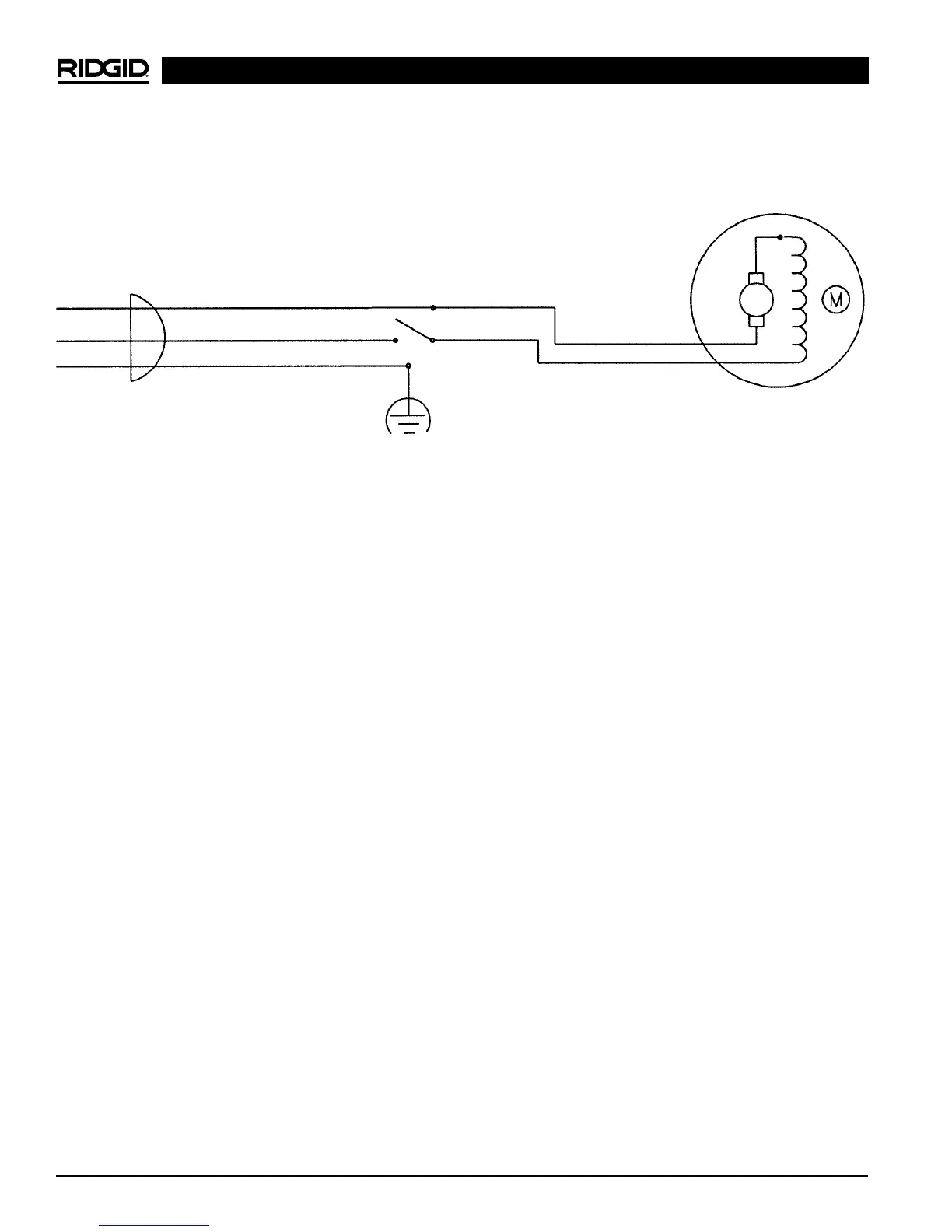
614 Dry Cut Saw
Wiring Diagram
NEUTRAL
GROUND
WHITE
BLACK
GREEN
ON/OFF
SWITCH
BLUE
BLACK
YELLOW
RED
GREEN

Related product manuals