EasyManua.ls Logo

RIDGID DP15501 - Maintenance; Troubleshooting

RIDGID DP15501
40 pages
Print Icon
To Next Page IconTo Next Page
To Next Page IconTo Next Page
To Previous Page IconTo Previous Page
To Previous Page IconTo Previous Page
Loading...
33
Maintenance
Maintenance
WARNING: For your own safety,
turn switch “OFF” and remove plug
from power source outlet before
maintaining or lubricating your drill
press.
A coat of automotive type paste wax
applied to the table and column will help
to keep the surfaces clean.
WARNING: To reduce the risk of
shock or fire hazard, if the power
cord is worn or cut, or damaged in
any way, have it replaced immedi-
ately.
Lubrication
All of the ball bearings are packed with
grease at the factory. They require no fur-
ther lubrication.
Periodically lubricate the table elevation
mechanism, the splines (grooves) in the
spindle, and the rack (teeth of the quill).
See “Getting to Know Your Drill Press”.
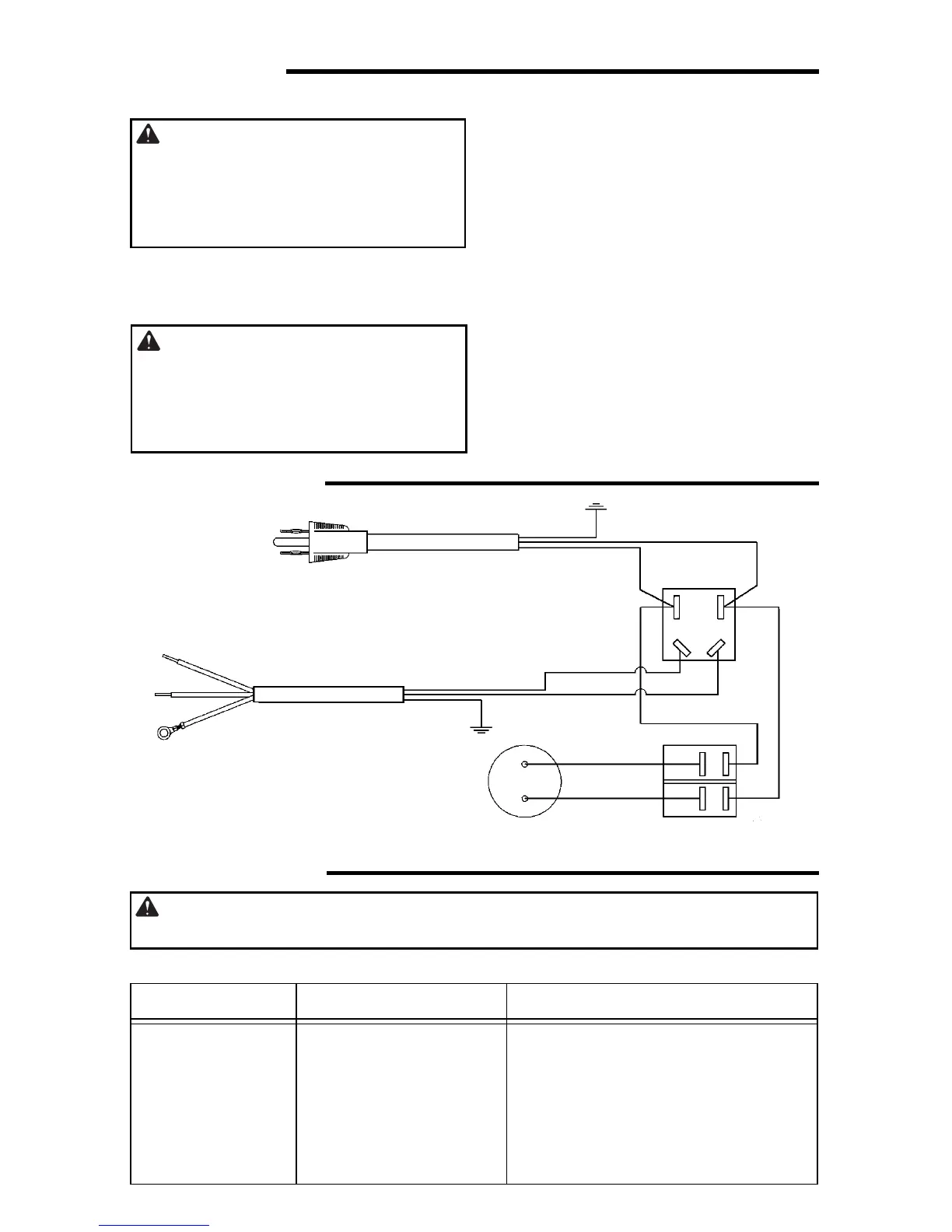
Wiring Diagram
Troubleshooting
WARNING: For your own safety, turn switch “OFF” and always remove
plug from power source outlet before troubleshooting.
Consult your Authorized Service Center if for any reason motor will not run.
Trouble
Probable Cause Remedy
Noisy Operation 1. Incorrect belt tension.
2. Dry spindle.
3. Loose spindle pulley
4. Loose motor pulley
1. Adjust tension. See “Installing and
Tensioning Belt” section.
2. Lubricate spindle. See “Lubrication
section.
3. Checking tightness of retaining nut
on pulley, and tighten if necessary.
4. Tighten set screws in pulleys.
Motor Cord
Switch Locking
Switch Rocker (Light)
Black
Black
Socket Asm Bulb
White
White
White
Black
Green
G
r
e
e
n
B
l
a
c
k
White
Cord w/Plug
Green
Lead 3" White
Lea
d
3"
Blac
k
(On/Off)
Top
To
M
otor

Table of Contents

Related product manuals