EasyManua.ls Logo

RIDGID TP1300 - Unpacking and Checking Contents; Assembling Upper Stiffeners

RIDGID TP1300
36 pages
Print Icon
To Next Page IconTo Next Page
To Next Page IconTo Next Page
To Previous Page IconTo Previous Page
To Previous Page IconTo Previous Page
Loading...
14
Assembling Legset (continued)
Assembling Lower Stiffeners (cont.)
2. Assemble the lower stiffeners to the
legs as shown. Finger tighten the nuts.
Make sure:
a. The long and short lower stiffeners fit
inside the legs.
b. The short stiffeners must be assem-
bled on opposite sides of the leg set.
(The same for the long stiffeners.).
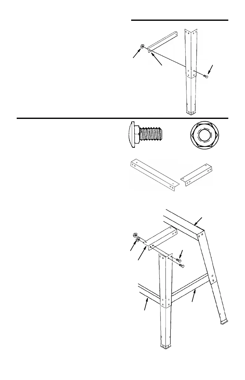
Assembling Upper Stiffeners
1. Locate the following parts and hard-
ware:
16Carriage Bolts M8 x 1.25
16Hex Flanged Nuts M8 x 1.25
2 Long Upper Stiffeners
2 Short Upper Stiffeners
2. Assemble the upper stiffeners to the
legs as shown. Finger tighten nuts.
Make sure:
a. The long upper stiffeners go over the
short upper stiffeners. Make sure the
stiffeners go inside the legs.
b. The short upper stiffeners go oppo-
site each other, same as the long
upper stiffeners.
c. The planer mounting holes in the top
of the legset are aligned.
3. Go back and tighten all nuts.
Short
Lower
Stiffener
Carriag
e
Bolt
Nut
Hex Flanged Nut
M8 x 1.25
Carriage Bolts
M8 x 1.25
Long Upper
Short Upp
er
Stiffener
Stiffener
S
hort Upper
Stiffener
Short
Lower
Stiffener
Carriage
Bolt
N
ut
Long
Lower
Stiffener
Long
Upper
Stiffene
r

Table of Contents

Other manuals for RIDGID TP1300

Related product manuals