EasyManua.ls Logo

Riello MULTI SENTRY MST 100 - Using the UPS

Riello MULTI SENTRY MST 100
56 pages
Print Icon
To Next Page IconTo Next Page
To Next Page IconTo Next Page
To Previous Page IconTo Previous Page
To Previous Page IconTo Previous Page
Loading...
USE
DESCRIPTION
The purpose of the UPS is to ensure perfect supply voltage to the equipment connected to it, both in the presence and absence
of mains power. Once connected and powered, the UPS generates alternating sinusoidal voltage with stable range and frequency,
regardless of sudden changes and/or variations on the mains power. As long as the UPS draws power from the mains, the
batteries are kept charged under the control of a multiprocessor board. This board constantly monitors mains voltage range and
frequency and the range and frequency of voltage generated by the inverter, applied load, internal temperature and battery
efficiency conditions.
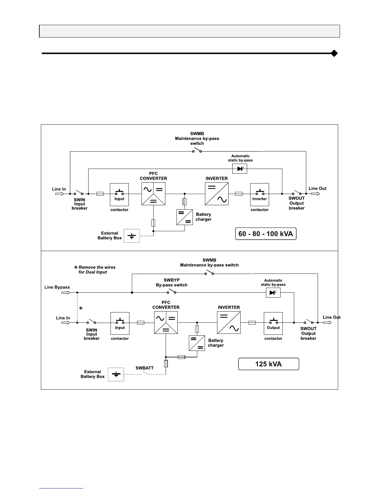
The following is a block diagram of the UPS which describes the individual components that it is composed of.
UPS block diagram
IMPORTANT: Our UPS have been designed and built for long-term duration even in the most demanding operating conditions.
Please remember however that these are electrical power devices and, as such, they require periodic inspections. In addition,
some components inevitably have their own life cycles and, therefore, they must be checked periodically and replaced if
necessary: in particular, the batteries, fans and, in some cases, the electrolytic capacitors.
It is therefore recommended to implement a preventive maintenance programme, to be entrusted to manufacturer authorised,
qualified personnel.
Our Technical Assistance is at your service to propose different preventive maintenance options tailored to your specific needs.

Table of Contents

Related product manuals