EasyManua.ls Logo

Rinnai RUR98i - Isolation Valves and Pressure Relief Valve (PRV); Isolation Valves Installation Instructions; Pressure Relief Valve (PRV) Installation Instructions

Rinnai RUR98i
160 pages
Print Icon
To Next Page IconTo Next Page
To Next Page IconTo Next Page
To Previous Page IconTo Previous Page
To Previous Page IconTo Previous Page
Loading...
KBP Series Manual 39
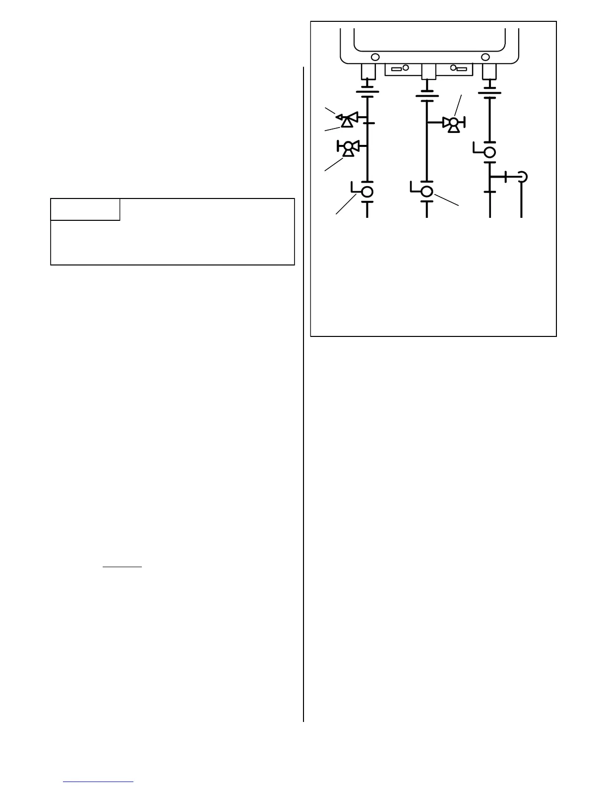
Isolaon Valves and Pressure Relief Valve
(PRV)
The isolaon valves provide the ability to isolate the
water heater from the structure’s plumbing and allow
quick access to ush the heat exchanger. Check with
local codes to determine if a pressure and
temperature relief valve is required. The included
valves meet American Naonal Standard (ANSI
Z21.10.3) / Canadian Standard (CSA 4.3) and are
ANSI/NSF 61 approved for potable water.

1. Wrap the ends of the threaded water inlet and
outlet on the tankless water heater, as well as
the threaded end of the approved pressure relief
valve with a minimum of 5 wraps of Teon®
tape.
2. Install the pressure relief valve to the 3/4”
threaded port on the HOT (RED) water service
valve (will be adjacent to or above the cut o,
never below). See Pressure Relief Valve Secon
for proper installaon requirements.
3. Loosen the 3/4” union nut on the HOT water
valve and connect to the HOT water outlet on
the tankless water heater. If nut is removed,
ensure that you realign the tailpiece accurately
to the valve, and that the black washer and/or
gasket is properly posioned.
4. Align the direcon of the HOT water drain to the
desired posion.
5. Tighten the union assembly to the HOT water
valve. over torque.
6. Repeat steps 3-5 for the COLD water valve.
(BLUE valve) for connecon to the COLD water
inlet on the tankless water heater.
7. Connect the INLET on the COLD water valve to
the MAIN SOURCE of the water supply.
8. Connect the OUTLET on the HOT water valve to
the HOT WATER plumbing system.
9. Ensure that both drain valves are in the
closed/“OFF” posion.

The PRV must be connected to the 3/4” threaded port
on the HOT (RED) water service valve (will be adjacent
to or above the shut o, never below). Installaon
must maintain a ¾” port size with no shut o valve or
line restricon in-between the appliance and the PRV.
The discharge line from the PRV should pitch
downward and terminate 6” above drains where
discharge will be clearly visible. The discharge end of
the line shall be plain (unthreaded) and a minimum of
¾” in diameter. The discharge line material must be
suitable for water at least 180° Fahrenheit. No valve
of any type may be installed in the discharge line of
the pressure relief valve.

For proper care of this approved pressure relief valve,
it is recommended that the valve be manually
operated once a year. In doing so, it will be necessary
to take precauons with regard to the discharge of
potenally scalding hot water under pressure. Ensure
discharge water has a safe place to ow. Contact
may cause property damage and/or bodily harm.
Please note that the included PRV meets the rang
requirements for use with the tankless water heater.
Should a replacement valve be needed it must be
rated for up to 150 psi and at least the maximum
BTU/hr of the appliance.
Pressure Relief Valve (PRV)
PRV Discharge Outlet
Hot Drain Valve
Cold Drain Valve
Hot Ball Valve
Cold Ball Valve
When unscrewing the UNION FITTING, Be careful not
to lose any washers and/or gaskets that may be
present.


Table of Contents

Other manuals for Rinnai RUR98i

Related product manuals